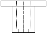
Alinee la ranura de la vista superior con la vista frontal.
|
Utilice líneas infinitas verticales como líneas de proyección.

|
Cambie los estilos de línea para señalar las ranuras ocultas.
|
Utilice
Estilo de línea
para cambiar las líneas de continuas a discontinuas.

|
Elimine las entidades de croquis sobrantes.
|
Utilice
Recortar entidades
con la opción de recorte inteligente.

|
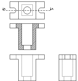
Alinee la ranura de la vista superior con la vista derecha.
|
Dibuje líneas infinitas horizontales como líneas de proyección y, a continuación, gire las líneas -90° con Girar entidades . Vídeo: Giro de líneas de proyección
|
Elimine las entidades de croquis sobrantes.
|
Utilice Recortar entidades con la opción recorte inteligente. |