Exemplos: Opção Tolerâncias de orientação

A opção Tolerâncias de orientação permite ao TolAnalyst considerar as tolerâncias que controlam explicitamente a orientação do recurso. Quando combinada com a opção Componentes de fixação e pinos flutuantes, a opção Tolerâncias de orientação permite ao TolAnalyst usar as folgas entre os recursos para girar peças até suas condições de pior cenário.

Tolerâncias com suporte:
  • Inclinação
  • Paralelismo
  • Perpendicularidade
  • Dimensões angulares definidas com o uso da ferramenta Dimensão do local .
A opção Tolerâncias de orientação não considera as seguintes tolerâncias que controlam implicitamente a orientação do recurso: posição, perfil de superfície e dimensões lineares definidas com o uso da ferramenta Dimensão do local .

Exemplo 1

Usando essa montagem, crie um estudo para avaliar a distância entre a base do suporte em “L” e a placa superior.
A dimensão 106 indica a distância sendo avaliada.
Aplique as tolerâncias exibidas para o suporte em “L”.
Com a opção Tolerâncias de orientação desmarcada, os resultados terão um mínimo de 103,5 e um máximo de 108,5.
Com a opção Tolerâncias de orientação selecionada, os resultados terão um mínimo de 98 e um máximo de 114.
Quando o TolAnalyst considera a tolerância de paralelismo 1, o recurso também precisa permanecer dentro dos limites 125 +/- 2.

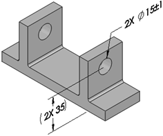
Exemplo 2

Usando essa montagem, crie um estudo para avaliar a distância entre a base e o eixo, como mostrado pela dimensão 35.
Aplique a tolerância de tamanho mostrada nos dois furos na base.
Aplique o tamanho de tolerância mostrado para o diâmetro do eixo.
Com Componentes de fixação e pinos flutuantes marcada e Tolerâncias de orientação desmarcada, os resultados são o valor mínimo 33 e o valor máximo 37 (mostrados). Observe como o eixo é empurrado contra a parte superior dos furos.
Com Componentes de fixação e pinos flutuantes e Tolerâncias de orientação marcadas, os resultados são o valor mínimo 32 e o valor máximo 38 (mostrados). Observe como o eixo é girado de forma que contém a aresta superior externa do furo esquerdo e a aresta inferior externa do furo direito.