2D-Entwürfe - Übersicht

Diese Übersicht enthält typische 2D-Entwurfsaufgaben und anwendbare SOLIDWORKS Lösungen. Die Aufgaben und Lösungen zeigen, wie die folgende Zeichnung zu erstellen ist.



Siehe Erstellung dieser Zeichnung aus einem 3D-Modell.

Aufgabenkategorien

Erstellen einer Frontansicht

Tasks Lösungen
Erstellen Sie die horizontalen Kanten der Zeichenansicht. Skizzieren Sie die untere horizontale Linie mit Linie und verwenden Sie Offset Elemente , um zusätzliche Kanten zu erstellen.

Erstellen Sie die vertikalen Kanten der Zeichenansicht. Skizzieren Sie eine Symmetrielinie mit Mittellinie und verwenden Sie Offset Elemente , um die Mittellinie bidirektional zu versetzen.

Löschen Sie überflüssige Skizzenelemente. Verwenden Sie Elemente trimmen mit den Optionen zum Trimmen von Ecken und zum intelligenten Trimmen.
Ändern Sie Linienarten, um verdeckte Bohrungen anzuzeigen. Verwenden Sie Linienart , um Linien von durchgehend in gestrichelt zu ändern.
Zurück zu Aufgabenkategorien

Erstellen einer Draufsicht durch Projektion einer Frontansicht

Vorher (Frontansicht) Nachher (Frontansicht und Draufsicht)
Tasks Lösungen
Richten Sie die Draufsicht auf die Frontansicht aus. Skizzieren Sie vertikale unendliche Linien als Projektionslinien mit Linie .

Video: Skizzieren vertikaler unendlicher Linien als Projektionslinien



Erstellen Sie die horizontalen Kanten der Zeichenansicht. Skizzieren Sie eine horizontale symmetrische Linie mit Mittellinie , um die Mitte der Zeichenansicht zu definieren. Versetzen Sie die Mittellinie mit Offset Elemente , um weitere Kanten der Zeichenansicht zu erstellen.

Löschen Sie überflüssige Skizzenelemente. Verwenden Sie Elemente trimmen mit den Optionen zum Wegtrimmen außen, zum Trimmen von Ecken und zum intelligenten Trimmen.
Außen wegtrimmen Ecke
Intelligentes Trimmen

Video: Wegtrimmen außen liegender Elemente

Erstellen Sie eine Bohrung in der Mitte der Zeichnung. Verwenden Sie Kreis und Mittelpunktfangfunktion zum Erstellen einer Bohrung, die die Mitte der Zeichnung fängt.

Video: Skizzieren eines Kreises, der im Mittelpunkt der Zeichnung einrastet

Mittelpunktfangfunktion
Kreis
Löschen Sie überflüssige Linien. Wählen Sie bei gedrückter Strg-Taste mehrere Linien aus und drücken Sie Entfernen.

Ändern Sie Linienarten, um verdeckte Bohrungen anzuzeigen. Verwenden Sie Linienart , um Linien von durchgehend in gestrichelt zu ändern.

Zurück zu Aufgabenkategorien

Erstellen einer rechten Ansicht durch Projektion einer Frontansicht und Draufsicht

Vorher (Frontansicht und Draufsicht) Nachher (Front-, Draufsicht, rechte Ansicht)
Tasks Lösungen
Richten Sie die rechte Ansicht auf die Frontansicht und Draufsicht aus. Verwenden Sie horizontale unendliche Linien als Projektionslinien.

Erstellen Sie die vertikalen Kanten der Zeichenansicht. Drehen Sie die Projektionslinien (von der Draufsicht) -90° mit Elemente drehen .

Video: Drehen von Elementen



Löschen Sie überflüssige Skizzenelemente. Verwenden Sie Elemente trimmen mit den Optionen zum Wegtrimmen außen, zum intelligenten Trimmen und zum Trimmen von Ecken.
Außen wegtrimmen Intelligentes Trimmen Ecke
Ändern Sie Linienarten, um verdeckte Bohrungen anzuzeigen. Verwenden Sie Linienart , um Linien von durchgehend in gestrichelt zu ändern.
Zurück zu Aufgabenkategorien

Hinzufügen eines Schlitzes zur Draufsicht

Vorher (Draufsicht) Nachher (Draufsicht)
Tasks Lösungen
Zentrieren Sie den Schlitz in der Ansicht. Verwenden Sie Mittellinie zum Erstellen von horizontalen und vertikalen Konstruktionslinien.

Erstellen Sie die horizontalen Kanten des Schlitzes. Verwenden Sie Offset Elemente , um die Mittellinien zu versetzen.

Löschen Sie überflüssige Skizzenelemente. Verwenden Sie Elemente trimmen mit der Option für intelligentes Trimmen.

Erstellen Sie einen Bogen, um den Schlitz zu umfassen. Verwenden Sie Tangentialer Kreisbogen .

Löschen Sie überflüssige Skizzenelemente. Verwenden Sie Elemente trimmen mit der Option für intelligentes Trimmen.

Erstellen Sie einen symmetrischen Schlitz auf der gegenüberliegenden Seite der Zeichenansicht. Löschen Sie die vertikale Kante der gegenüberliegenden Seite der Zeichenansicht (um Raum für das Langloch zu schaffen). Verwenden Sie anschließend Elemente spiegeln , um das Langloch zu spiegeln.

Video: Spiegeln von Elementen



Zurück zu Aufgabenkategorien

Projizieren des Schlitzes auf die Frontansicht und rechte Ansicht

Vorher (Front-, Draufsicht, rechte Ansicht)
Nachher (Front-, Draufsicht, rechte Ansicht)
Tasks Lösungen
Richten Sie den Schlitz von der Draufsicht auf die Frontansicht aus. Verwenden Sie vertikale unendliche Linien als Projektionslinien.

Ändern Sie Linienarten, um verdeckte Schlitze anzuzeigen. Verwenden Sie Linienart , um Linien von durchgehend in gestrichelt zu ändern.

Löschen Sie überflüssige Skizzenelemente. Verwenden Sie Elemente trimmen mit der Option für intelligentes Trimmen.

Richten Sie den Schlitz von der Draufsicht auf die rechte Ansicht aus. Skizzieren Sie horizontale unendliche Linien als Projektionslinien und drehen Sie die Linien um -90° mit Elemente drehen .

Video: Drehen von Projektionslinien

Löschen Sie überflüssige Skizzenelemente. Verwenden Sie Elemente trimmen mit der Option für intelligentes Trimmen.

Zurück zu Aufgabenkategorien

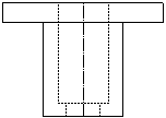
Erstellen einer Schnittansicht von der Frontansicht

Vorher (Frontansicht) Nachher (Schnittansicht)
Tasks Lösungen
Löschen Sie eine Linie in der Zeichenansicht, um einen Querschnitt zu erstellen. Verwenden Sie Elemente trimmen mit der Option für intelligentes Trimmen.

Ändern Sie die Linienarten, sodass verdeckte Bohrungen und Schlitze angezeigt werden. Verwenden Sie das Werkzeug Linienart , um Linien von durchgehend in gestrichelt zu ändern.

Erstellen Sie ein Schraffurmuster, um durchgehende Bereiche in der Zeichenansicht anzuzeigen. Verwenden Sie Bereich schraffieren/füllen , um Schraffurschnitte anzuwenden.

Video: Anwenden von Schraffurschnittflächen



Zurück zu Aufgabenkategorien

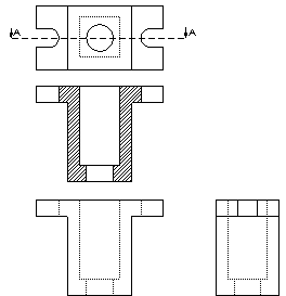
Erstellung einer Zeichnung von einem 3D-Modell

Mit einem 3D-Modell können sie dieselbe Zeichnung in zwei Schritten erstellen.



Tasks Lösungen
Erstellen Sie eine Frontansicht, eine Draufsicht und eine rechte Ansicht. Wählen Sie in einem neuen Zeichenblatt bei eingeblendeter Zeichnungs-Symbolleiste die Option Standard 3 Ansichten aus, und wählen Sie das Teildokument im PropertyManager Standard 3 Ansichten aus.
Erstellen Sie eine Schnittansicht. Verwenden Sie im Zeichendokument das Werkzeug Schnittansicht zur Erstellung einer Schnittansicht von der Draufsicht. Schnittansichten werden automatisch schraffiert.