|
Teknik Resim için işaretli
|
|
|
Teknik Resim için işaretli değil
|
|
|
Örnek/Döngü Sayıları
|
Bir çoğaltmadaki Örnek Sayısı için tamsayı değerini ekler.

|
|
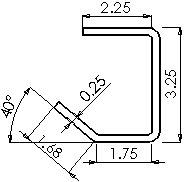
Toleranslı Ölçümlendirmeler
|
Yalnızca toleransa sahip olan ölçümlendirmeleri ekler. |
|
Delik Sihirbazı Profilleri
|
Delik Sihirbazı ile oluşturulan delikler için çapraz kesit çiziminin ölçümlendirmelerini ekler. |
|
Delik Sihirbazı Konumları
|
Delik Sihirbazı ile oluşturulan delikler için çapraz kesit çiziminin ölçümlendirmelerini ekler. |
|
|
|
|
Delik Bilgisi
|
Delik sihirbazı unsurlarına delik bilgisi detaylandırmalarını ekler.

|
|
Tekrarlayanları ayıkla
|
Yalnızca tek model öğelerini ekler; tekrarlayan öğeler eklenmez.
|