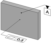
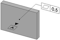
Référence DimXpert Vous pouvez utiliser l'outil Référence de DimXpert pour définir les fonctions de référence. Pour accéder à cet outil : Cliquez sur Référence (barre d'outils MBD Dimension) ou sur Outils > MBD Dimension > Référence. Cet outil prend en charge les types de fonctions suivants : Bossage &Cylindre Encoche Plan Perçage simple Rainure Largeur La plupart des options du PropertyManager Référence de DimXpert sont similaires à celles du PropertyManager Référence non spécifique à DimXpert. Les différences sont indiquées ci-dessous. Paramètres des labels Lorsque vous appliquez ou éditez une référence, entrez un Label de référence et attribuez-lui un type de ligne d'attache. Spécifiez le label initial dans Outils > Options > Propriétés du document > Norme d'habillage > Annotations > Références . Lorsque vous saisissez des labels de référence, la syntaxe des valeurs d'entrée est vérifiée selon la norme de la mise en plan active. Par exemple : L'entrée d'une valeur numérique génère un message d'avertissement pour toutes les normes. L'entrée de I, O, ou Q génère un message d'avertissement lorsque vous utilisez la norme ANSI. L'entrée de AA génère un message d'avertissement lorsque vous utilisez la norme ISO. Lignes d'attache Surface Attache le triangle de référence à la surface d'une fonction. Ligne d'attache dirigée Attache le triangle de référence à une ligne d'attache dirigée. Cotation parallèle Attache le triangle de référence à une cote ou une définition du contenu des cases. Tolérance géométrique Attache le triangle de référence à une définition du contenu des cases. Exemples de références par fonction Bossage &Cylindre Encoche Plan Perçage simple Rainure Largeur Sujet parentOutils DimXpert Le PropertyManager Elément de référence Application d'un repère d'élément de référence Pour appliquer un repère d'élément de référence: Cliquez sur Référence (barre d'outils MBD Dimension) ou sur Outils > MBD Dimension > Référence. Sélectionnez la face de l'élément de référence et cliquez dans la zone graphique pour y placer le repère. Si la face sélectionnée peut être utilisée pour définir plus d'un type de fonction, utilisez le sélecteur de fonctions pour choisir la fonction requise. Cliquez sur .
Référence DimXpert Vous pouvez utiliser l'outil Référence de DimXpert pour définir les fonctions de référence. Pour accéder à cet outil : Cliquez sur Référence (barre d'outils MBD Dimension) ou sur Outils > MBD Dimension > Référence. Cet outil prend en charge les types de fonctions suivants : Bossage &Cylindre Encoche Plan Perçage simple Rainure Largeur La plupart des options du PropertyManager Référence de DimXpert sont similaires à celles du PropertyManager Référence non spécifique à DimXpert. Les différences sont indiquées ci-dessous. Paramètres des labels Lorsque vous appliquez ou éditez une référence, entrez un Label de référence et attribuez-lui un type de ligne d'attache. Spécifiez le label initial dans Outils > Options > Propriétés du document > Norme d'habillage > Annotations > Références . Lorsque vous saisissez des labels de référence, la syntaxe des valeurs d'entrée est vérifiée selon la norme de la mise en plan active. Par exemple : L'entrée d'une valeur numérique génère un message d'avertissement pour toutes les normes. L'entrée de I, O, ou Q génère un message d'avertissement lorsque vous utilisez la norme ANSI. L'entrée de AA génère un message d'avertissement lorsque vous utilisez la norme ISO. Lignes d'attache Surface Attache le triangle de référence à la surface d'une fonction. Ligne d'attache dirigée Attache le triangle de référence à une ligne d'attache dirigée. Cotation parallèle Attache le triangle de référence à une cote ou une définition du contenu des cases. Tolérance géométrique Attache le triangle de référence à une définition du contenu des cases. Exemples de références par fonction Bossage &Cylindre Encoche Plan Perçage simple Rainure Largeur Sujet parentOutils DimXpert Le PropertyManager Elément de référence Application d'un repère d'élément de référence Pour appliquer un repère d'élément de référence: Cliquez sur Référence (barre d'outils MBD Dimension) ou sur Outils > MBD Dimension > Référence. Sélectionnez la face de l'élément de référence et cliquez dans la zone graphique pour y placer le repère. Si la face sélectionnée peut être utilisée pour définir plus d'un type de fonction, utilisez le sélecteur de fonctions pour choisir la fonction requise. Cliquez sur .
Application d'un repère d'élément de référence Pour appliquer un repère d'élément de référence: Cliquez sur Référence (barre d'outils MBD Dimension) ou sur Outils > MBD Dimension > Référence. Sélectionnez la face de l'élément de référence et cliquez dans la zone graphique pour y placer le repère. Si la face sélectionnée peut être utilisée pour définir plus d'un type de fonction, utilisez le sélecteur de fonctions pour choisir la fonction requise. Cliquez sur .