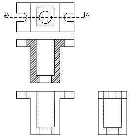
Visão geral do rascunho 2D Este tópico lista as tarefas típicas da criação de rascunhos em 2D e as soluções do SOLIDWORKS aplicáveis. As tarefas e soluções mostram como criar o seguinte desenho. Veja como criar este desenho a partir de um modelo 3D. As ferramentas de detalhe e anotação não são usadas nesta visão geral. Para obter um tutorial passo a passo com foco em ferramentas de detalhamento e anotação do SOLIDWORKS, consulte o tutorial Desenhos avançados, clicando em > Tutoriais > Todos os tutoriais do SOLIDWORKS. Categorias de tarefas Criar uma vista frontal. Criar uma vista superior projetando uma vista frontal. Criar uma vista direita projetando uma vista frontal e superior. Adicionar uma ranhura para a vista superior. Projetar a ranhura para as vistas frontal e direita. Criar uma vista de seção de uma vista frontal. Criar uma vista frontal Tarefas Soluções Criar as arestas horizontais da vista de desenho. Esboce a linha horizontal inferior com Linha e use Offset de entidades para criar arestas adicionais. Criar as arestas verticais da vista de desenho. Esboce uma linha de simetria com Linha de centro e use Offset de entidades para deslocar a linha de centro bidirecionalmente. Excluir as entidades de esboço excedentes. Use Aparar entidades com as opções de aparagem ativa e de canto. Canto Aparagem ativa: método clicar-clicar Vídeo: Aparar cantos com Aparar entidades Vídeo: Usar método clicar-clicar de aparagem ativa Aparagem ativa: método arrastar Vídeo: Usar método de arrastar de aparagem ativa Alterar os estilos de linhas para indicar os furos ocultos. Use Estilo de linha para alternar as linhas de sólidas para tracejadas. Voltar às categorias de tarefas Criar uma vista superior projetando uma vista frontal Antes (vista frontal) Depois (vistas frontal e superior) Tarefas Soluções Alinhar a vista superior com a vista frontal. Esboce linhas infinitas verticais como linhas de projeção com Linha . Vídeo: Esboçar linhas infinitas verticais como linhas de projeção Criar as arestas horizontais da vista de desenho. Esboce uma linha de simetria horizontal com Linha de centro para definir o centro da vista de desenho. Desloque a linha de centro com Offset de entidades para criar arestas adicionais da vista de desenho. Excluir as entidades de esboço excedentes. Use Aparar entidades com as opções de aparagem ativa, de canto e aparar e remover a parte externa. Aparar e remover a parte externa Canto Aparagem ativa Vídeo: Aparar e remover entidades externas Criar um furo no centro do desenho. Use Círculo e Trava no ponto médio para criar um furo que se prende ao centro do desenho. Vídeo: Esboçar um círculo que trave no centro do desenho Trava no ponto médio Círculo Excluir excesso de linhas. Mantenha Ctrl pressionado e selecione as linhas múltiplas; depois, pressione Delete. Alterar os estilos de linhas para indicar os furos ocultos. Use Estilo de linha para alternar as linhas de sólidas para tracejadas. Voltar às categorias de tarefas Criar uma vista direita projetando uma vista frontal e superior Antes (vistas frontal e superior) Depois (vistas frontal, superior e direita) Tarefas Soluções Alinhar a vista direita com as vistas frontal e superior. Use as linhas infinitas horizontais como linhas de projeção. Criar as arestas verticais da vista de desenho. Gire as linhas de projeção (a partir da vista superior) a -90° com Girar entidades . Vídeo: Girar entidades Excluir as entidades de esboço excedentes. Use Aparar entidades com as opções de aparar e remover a parte externa, aparagem ativa e de canto. Aparar e remover a parte externa Aparagem ativa Canto Alterar os estilos de linhas para indicar os furos ocultos. Use Estilo de linha para alternar as linhas de sólidas para tracejadas. Voltar às categorias de tarefas Adicionar uma ranhura à vista superior Antes (vista superior) Depois (vista superior) Tarefas Soluções Centralizar a ranhura na vista. Use Linha de centro para criar linhas de construção horizontais e verticais. Criar as arestas horizontais da ranhura. Use Offset de entidades para deslocar as linhas de centro. Excluir as entidades de esboço excedentes. Use Aparar entidades com a opção de aparagem ativa. Criar um arco para contornar a ranhura. Use Arco tangente . Excluir as entidades de esboço excedentes. Use Aparar entidades com a opção de aparagem ativa. Criar uma ranhura simétrica no lado oposto da vista de desenho. Exclua a aresta vertical do lado oposto da vista de desenho (para criar um espaço para a ranhura) e use Espelhar entidades para espelhar a ranhura. Vídeo: Espelhar entidades Voltar às categorias de tarefas Projetar a ranhura para as vistas frontal e direita Antes (vistas frontal, superior e direita) Depois (vistas frontal, superior e direita) Tarefas Soluções Alinhar a ranhura da vista superior com a vista frontal. Use linhas infinitas verticais como linhas de projeção. Alterar os estilos de linha para indicar as ranhuras ocultas. Use Estilo de linha para alternar as linhas de sólidas para tracejadas. Excluir as entidades de esboço excedentes. Use Aparar entidades com a opção de aparagem ativa. Alinhar a ranhura da vista superior com a vista direita. Esboce linhas infinitas horizontais como linhas de projeção e gire-as a -90° com Girar entidades . Vídeo: Girar linhas de projeção Excluir as entidades de esboço excedentes. Use Aparar entidades com a opção de aparagem ativa. Voltar às categorias de tarefas Criar uma vista de seção a partir de uma vista frontal Antes (vista frontal) Depois (vista de seção) Tarefas Soluções Excluir a linha extra da vista de desenho para criar um corte transversal. Use Aparar entidades com a opção de aparagem ativa. Alterar os estilos de linha para que furos e ranhuras ocultos sejam exibidos. Use Estilo de linha para alternar as linhas de sólidas para tracejadas. Criar um padrão de hachura para indicar áreas sólidas da vista de desenho. Use Área hachurada/preenchida para aplicar seções hachuradas. Vídeo: Aplicar seções de hachura Voltar às categorias de tarefas Tópico paiFerramentas de projeto específicas do mercado Visão geral de ferramentas de projeto de máquinas Visão geral de ferramentas de projeto de molde Visão geral das ferramentas de projeto de ferramentaria e estamparia Criar um desenho a partir de um modelo 3D Com um modelo 3D, é possível criar o mesmo desenho em duas etapas. Tarefas Soluções Criar vistas frontal, superior e direita. Em um novo folha de desenho, com a barra de ferramentas Desenho exibida, selecione 3 vistas padrão e procure o documento da peça no PropertyManager 3 vistas padrão . Criar uma vista de seção. No documento do desenho, use a ferramenta Vista de seção para criar uma vista de seção a partir da vista superior. Hachurado é automaticamente aplicado às vistas de seção.
Visão geral do rascunho 2D Este tópico lista as tarefas típicas da criação de rascunhos em 2D e as soluções do SOLIDWORKS aplicáveis. As tarefas e soluções mostram como criar o seguinte desenho. Veja como criar este desenho a partir de um modelo 3D. As ferramentas de detalhe e anotação não são usadas nesta visão geral. Para obter um tutorial passo a passo com foco em ferramentas de detalhamento e anotação do SOLIDWORKS, consulte o tutorial Desenhos avançados, clicando em > Tutoriais > Todos os tutoriais do SOLIDWORKS. Categorias de tarefas Criar uma vista frontal. Criar uma vista superior projetando uma vista frontal. Criar uma vista direita projetando uma vista frontal e superior. Adicionar uma ranhura para a vista superior. Projetar a ranhura para as vistas frontal e direita. Criar uma vista de seção de uma vista frontal. Criar uma vista frontal Tarefas Soluções Criar as arestas horizontais da vista de desenho. Esboce a linha horizontal inferior com Linha e use Offset de entidades para criar arestas adicionais. Criar as arestas verticais da vista de desenho. Esboce uma linha de simetria com Linha de centro e use Offset de entidades para deslocar a linha de centro bidirecionalmente. Excluir as entidades de esboço excedentes. Use Aparar entidades com as opções de aparagem ativa e de canto. Canto Aparagem ativa: método clicar-clicar Vídeo: Aparar cantos com Aparar entidades Vídeo: Usar método clicar-clicar de aparagem ativa Aparagem ativa: método arrastar Vídeo: Usar método de arrastar de aparagem ativa Alterar os estilos de linhas para indicar os furos ocultos. Use Estilo de linha para alternar as linhas de sólidas para tracejadas. Voltar às categorias de tarefas Criar uma vista superior projetando uma vista frontal Antes (vista frontal) Depois (vistas frontal e superior) Tarefas Soluções Alinhar a vista superior com a vista frontal. Esboce linhas infinitas verticais como linhas de projeção com Linha . Vídeo: Esboçar linhas infinitas verticais como linhas de projeção Criar as arestas horizontais da vista de desenho. Esboce uma linha de simetria horizontal com Linha de centro para definir o centro da vista de desenho. Desloque a linha de centro com Offset de entidades para criar arestas adicionais da vista de desenho. Excluir as entidades de esboço excedentes. Use Aparar entidades com as opções de aparagem ativa, de canto e aparar e remover a parte externa. Aparar e remover a parte externa Canto Aparagem ativa Vídeo: Aparar e remover entidades externas Criar um furo no centro do desenho. Use Círculo e Trava no ponto médio para criar um furo que se prende ao centro do desenho. Vídeo: Esboçar um círculo que trave no centro do desenho Trava no ponto médio Círculo Excluir excesso de linhas. Mantenha Ctrl pressionado e selecione as linhas múltiplas; depois, pressione Delete. Alterar os estilos de linhas para indicar os furos ocultos. Use Estilo de linha para alternar as linhas de sólidas para tracejadas. Voltar às categorias de tarefas Criar uma vista direita projetando uma vista frontal e superior Antes (vistas frontal e superior) Depois (vistas frontal, superior e direita) Tarefas Soluções Alinhar a vista direita com as vistas frontal e superior. Use as linhas infinitas horizontais como linhas de projeção. Criar as arestas verticais da vista de desenho. Gire as linhas de projeção (a partir da vista superior) a -90° com Girar entidades . Vídeo: Girar entidades Excluir as entidades de esboço excedentes. Use Aparar entidades com as opções de aparar e remover a parte externa, aparagem ativa e de canto. Aparar e remover a parte externa Aparagem ativa Canto Alterar os estilos de linhas para indicar os furos ocultos. Use Estilo de linha para alternar as linhas de sólidas para tracejadas. Voltar às categorias de tarefas Adicionar uma ranhura à vista superior Antes (vista superior) Depois (vista superior) Tarefas Soluções Centralizar a ranhura na vista. Use Linha de centro para criar linhas de construção horizontais e verticais. Criar as arestas horizontais da ranhura. Use Offset de entidades para deslocar as linhas de centro. Excluir as entidades de esboço excedentes. Use Aparar entidades com a opção de aparagem ativa. Criar um arco para contornar a ranhura. Use Arco tangente . Excluir as entidades de esboço excedentes. Use Aparar entidades com a opção de aparagem ativa. Criar uma ranhura simétrica no lado oposto da vista de desenho. Exclua a aresta vertical do lado oposto da vista de desenho (para criar um espaço para a ranhura) e use Espelhar entidades para espelhar a ranhura. Vídeo: Espelhar entidades Voltar às categorias de tarefas Projetar a ranhura para as vistas frontal e direita Antes (vistas frontal, superior e direita) Depois (vistas frontal, superior e direita) Tarefas Soluções Alinhar a ranhura da vista superior com a vista frontal. Use linhas infinitas verticais como linhas de projeção. Alterar os estilos de linha para indicar as ranhuras ocultas. Use Estilo de linha para alternar as linhas de sólidas para tracejadas. Excluir as entidades de esboço excedentes. Use Aparar entidades com a opção de aparagem ativa. Alinhar a ranhura da vista superior com a vista direita. Esboce linhas infinitas horizontais como linhas de projeção e gire-as a -90° com Girar entidades . Vídeo: Girar linhas de projeção Excluir as entidades de esboço excedentes. Use Aparar entidades com a opção de aparagem ativa. Voltar às categorias de tarefas Criar uma vista de seção a partir de uma vista frontal Antes (vista frontal) Depois (vista de seção) Tarefas Soluções Excluir a linha extra da vista de desenho para criar um corte transversal. Use Aparar entidades com a opção de aparagem ativa. Alterar os estilos de linha para que furos e ranhuras ocultos sejam exibidos. Use Estilo de linha para alternar as linhas de sólidas para tracejadas. Criar um padrão de hachura para indicar áreas sólidas da vista de desenho. Use Área hachurada/preenchida para aplicar seções hachuradas. Vídeo: Aplicar seções de hachura Voltar às categorias de tarefas Tópico paiFerramentas de projeto específicas do mercado Visão geral de ferramentas de projeto de máquinas Visão geral de ferramentas de projeto de molde Visão geral das ferramentas de projeto de ferramentaria e estamparia Criar um desenho a partir de um modelo 3D Com um modelo 3D, é possível criar o mesmo desenho em duas etapas. Tarefas Soluções Criar vistas frontal, superior e direita. Em um novo folha de desenho, com a barra de ferramentas Desenho exibida, selecione 3 vistas padrão e procure o documento da peça no PropertyManager 3 vistas padrão . Criar uma vista de seção. No documento do desenho, use a ferramenta Vista de seção para criar uma vista de seção a partir da vista superior. Hachurado é automaticamente aplicado às vistas de seção.
Criar um desenho a partir de um modelo 3D Com um modelo 3D, é possível criar o mesmo desenho em duas etapas. Tarefas Soluções Criar vistas frontal, superior e direita. Em um novo folha de desenho, com a barra de ferramentas Desenho exibida, selecione 3 vistas padrão e procure o documento da peça no PropertyManager 3 vistas padrão . Criar uma vista de seção. No documento do desenho, use a ferramenta Vista de seção para criar uma vista de seção a partir da vista superior. Hachurado é automaticamente aplicado às vistas de seção.