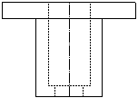
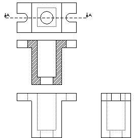
Perspectiva general de croquizado en 2D En esta página se muestran las tareas habituales del croquizado en 2D y las soluciones de SOLIDWORKS correspondientes. Las tareas y soluciones muestran cómo crear el siguiente dibujo. Consulte cómo crear este dibujo a partir de un modelo 3D. En esta perspectiva general no se utilizan herramientas de documentación ni de anotación. Para obtener instrucciones paso a paso sobre las herramientas de documentación y anotación de SOLIDWORKS, consulte el tutorial Técnicas avanzadas de dibujo haciendo clic en > Tutoriales > Todos los tutoriales de SOLIDWORKS . Categorías de tareas Crear una vista frontal. Crear una vista superior proyectando una vista frontal. Crear una vista derecha proyectando una vista de la parte frontal y superior. Agregar una ranura en la vista superior. Propagar la ranura en la vista frontal y en la vista derecha. Crear una vista de sección desde la vista frontal. Creación de una vista frontal Tareas Soluciones Cree las aristas horizontales de la vista de dibujo. Dibuje la línea horizontal inferior con Línea y utilice Equidistanciar entidades para crear aristas adicionales. Cree las aristas verticales de la vista de dibujo. Dibuje una línea de simetría con Línea constructiva y utilice Equidistanciar entidades para equidistanciar la línea constructiva bidireccionalmente. Elimine las entidades de croquis sobrantes. Utilice Recortar entidades con las opciones de esquina y recorte inteligente. Esquina Recorte inteligente: método clic clic Vídeo: Recorte de esquinas con Recortar entidades Vídeo: Uso del método clic-clic de Recorte inteligente Recorte inteligente: método de arrastre Vídeo: Uso del método de arrastre de Recorte inteligente Cambie los estilos de línea para señalar los taladros ocultos. Utilice Estilo de línea para cambiar las líneas de continuas a discontinuas. Volver a las categorías de tareas Creación de una vista superior proyectando una vista frontal Antes (vista frontal) Después (vistas frontal y superior) Tareas Soluciones Alinee la vista superior con la vista frontal. Realice un croquis de líneas infinitas verticales como líneas de proyección con Línea . Vídeo: Croquizado de líneas infinitas verticales como líneas de proyección Cree las aristas horizontales de la vista de dibujo. Realice un croquis de una línea de simetría horizontal con Línea constructiva para definir la mitad de la vista de dibujo. Equidistancie la línea constructiva con Equidistanciar entidades para crear aristas adicionales de la vista de dibujo. Elimine las entidades de croquis sobrantes. Utilice Recortar entidades con las opciones Recortar fuera de límite, de esquina y recorte inteligente. Recortar fuera de límite Esquina Recorte inteligente Vídeo: Recorte de entidades fuera de límite Cree un taladro en el centro del dibujo. Utilice Círculo y Enganchar a puntos medios para crear un taladro que se enganche en el centro del dibujo. Vídeo: Croquizado de un círculo que se engancha al centro del dibujo Enganchar a puntos medios Círculo Elimine las líneas sobrantes. Presione Ctrl +, seleccione varias líneas y presione SUPR. Cambie los estilos de línea para señalar los taladros ocultos. Utilice Estilo de línea para cambiar las líneas de continuas a discontinuas. Volver a las categorías de tareas Creación de una vista derecha proyectando una vista frontal y superior Antes (vistas frontal y superior) Después (vistas frontal, superior y derecha) Tareas Soluciones Alinee la vista derecha con las vistas frontal y superior. Utilice líneas infinitas horizontales como líneas de proyección. Cree las aristas verticales de la vista de dibujo. Gire las líneas de proyección (desde la vista superior) -90° con Girar entidades . Vídeo: Giro de entidades Elimine las entidades de croquis sobrantes. Utilice Recortar entidades con las opciones Recortar fuera de límite, de esquina y recorte inteligente. Recortar fuera de límite Recorte inteligente Esquina Cambie los estilos de línea para señalar los taladros ocultos. Utilice Estilo de línea para cambiar las líneas de continuas a discontinuas. Volver a las categorías de tareas Adición de una ranura a la vista superior Antes (vista superior) Después (vista superior) Tareas Soluciones Centre la ranura en la vista. Utilice Línea constructiva para crear líneas constructivas horizontales y verticales. Cree las aristas horizontales de la ranura. Utilice Equidistanciar entidades para equidistanciar las líneas constructivas. Elimine las entidades de croquis sobrantes. Utilice Recortar entidades con la opción de recorte inteligente. Cree un arco para encerrar la ranura. Utilice Arco tangente . Elimine las entidades de croquis sobrantes. Utilice Recortar entidades con la opción de recorte inteligente. Cree una ranura simétrica en el lado opuesto de la vista de dibujo. Elimine la arista vertical del lado opuesto de la vista de dibujo (para crear un espacio para la ranura) y luego utilice Entidades simétricas para crear una ranura simétrica. Vídeo: Simetría de entidades Volver a las categorías de tareas Proyección de la ranura en las vistas frontal y derecha Antes (vistas frontal, superior y derecha) Después (vistas frontal, superior y derecha) Tareas Soluciones Alinee la ranura de la vista superior con la vista frontal. Utilice líneas infinitas verticales como líneas de proyección. Cambie los estilos de línea para señalar las ranuras ocultas. Utilice Estilo de línea para cambiar las líneas de continuas a discontinuas. Elimine las entidades de croquis sobrantes. Utilice Recortar entidades con la opción de recorte inteligente. Alinee la ranura de la vista superior con la vista derecha. Dibuje líneas infinitas horizontales como líneas de proyección y, a continuación, gire las líneas -90° con Girar entidades . Vídeo: Giro de líneas de proyección Elimine las entidades de croquis sobrantes. Utilice Recortar entidades con la opción recorte inteligente. Volver a las categorías de tareas Creación de una vista de sección a partir de la vista frontal Antes (vista frontal) Después (vista de sección) Tareas Soluciones Elimine la línea extra de la vista de dibujo para crear una sección transversal. Utilice Recortar entidades con la opción de recorte inteligente. Cambie los estilos de línea para que se muestren los taladros y las ranuras ocultos. Utilice Estilo de línea para cambiar las líneas de continuas a discontinuas. Cree un patrón de rayado para indicar las áreas sólidas de la vista de dibujo. Utilice Área rayada/Rellenar para aplicar secciones de rayado. Vídeo: Aplicación de secciones de rayado Volver a las categorías de tareas Tema principalHerramientas de diseño específicas para la industria Perspectiva general de herramientas para el diseño de máquinas Perspectiva general de Diseño de moldes Perspectiva general del diseño de herramientas y moldes Crear un dibujo a partir de un modelo 3D Con un modelo 3D, se puede crear el mismo dibujo en dos pasos. Tareas Soluciones Cree las vistas frontal, superior y derecha. En un nuevo hoja de dibujo, con la barra de herramientas Dibujo visible, seleccione 3 vistas estándar y examine el documento de la pieza en el PropertyManager 3 vistas estándar . Cree una vista de sección. En el documento de dibujo, utilice la herramienta Vista de sección para crear una vista de sección a partir de la vista superior. Se aplica el rayado automáticamente a las vistas de sección.
Perspectiva general de croquizado en 2D En esta página se muestran las tareas habituales del croquizado en 2D y las soluciones de SOLIDWORKS correspondientes. Las tareas y soluciones muestran cómo crear el siguiente dibujo. Consulte cómo crear este dibujo a partir de un modelo 3D. En esta perspectiva general no se utilizan herramientas de documentación ni de anotación. Para obtener instrucciones paso a paso sobre las herramientas de documentación y anotación de SOLIDWORKS, consulte el tutorial Técnicas avanzadas de dibujo haciendo clic en > Tutoriales > Todos los tutoriales de SOLIDWORKS . Categorías de tareas Crear una vista frontal. Crear una vista superior proyectando una vista frontal. Crear una vista derecha proyectando una vista de la parte frontal y superior. Agregar una ranura en la vista superior. Propagar la ranura en la vista frontal y en la vista derecha. Crear una vista de sección desde la vista frontal. Creación de una vista frontal Tareas Soluciones Cree las aristas horizontales de la vista de dibujo. Dibuje la línea horizontal inferior con Línea y utilice Equidistanciar entidades para crear aristas adicionales. Cree las aristas verticales de la vista de dibujo. Dibuje una línea de simetría con Línea constructiva y utilice Equidistanciar entidades para equidistanciar la línea constructiva bidireccionalmente. Elimine las entidades de croquis sobrantes. Utilice Recortar entidades con las opciones de esquina y recorte inteligente. Esquina Recorte inteligente: método clic clic Vídeo: Recorte de esquinas con Recortar entidades Vídeo: Uso del método clic-clic de Recorte inteligente Recorte inteligente: método de arrastre Vídeo: Uso del método de arrastre de Recorte inteligente Cambie los estilos de línea para señalar los taladros ocultos. Utilice Estilo de línea para cambiar las líneas de continuas a discontinuas. Volver a las categorías de tareas Creación de una vista superior proyectando una vista frontal Antes (vista frontal) Después (vistas frontal y superior) Tareas Soluciones Alinee la vista superior con la vista frontal. Realice un croquis de líneas infinitas verticales como líneas de proyección con Línea . Vídeo: Croquizado de líneas infinitas verticales como líneas de proyección Cree las aristas horizontales de la vista de dibujo. Realice un croquis de una línea de simetría horizontal con Línea constructiva para definir la mitad de la vista de dibujo. Equidistancie la línea constructiva con Equidistanciar entidades para crear aristas adicionales de la vista de dibujo. Elimine las entidades de croquis sobrantes. Utilice Recortar entidades con las opciones Recortar fuera de límite, de esquina y recorte inteligente. Recortar fuera de límite Esquina Recorte inteligente Vídeo: Recorte de entidades fuera de límite Cree un taladro en el centro del dibujo. Utilice Círculo y Enganchar a puntos medios para crear un taladro que se enganche en el centro del dibujo. Vídeo: Croquizado de un círculo que se engancha al centro del dibujo Enganchar a puntos medios Círculo Elimine las líneas sobrantes. Presione Ctrl +, seleccione varias líneas y presione SUPR. Cambie los estilos de línea para señalar los taladros ocultos. Utilice Estilo de línea para cambiar las líneas de continuas a discontinuas. Volver a las categorías de tareas Creación de una vista derecha proyectando una vista frontal y superior Antes (vistas frontal y superior) Después (vistas frontal, superior y derecha) Tareas Soluciones Alinee la vista derecha con las vistas frontal y superior. Utilice líneas infinitas horizontales como líneas de proyección. Cree las aristas verticales de la vista de dibujo. Gire las líneas de proyección (desde la vista superior) -90° con Girar entidades . Vídeo: Giro de entidades Elimine las entidades de croquis sobrantes. Utilice Recortar entidades con las opciones Recortar fuera de límite, de esquina y recorte inteligente. Recortar fuera de límite Recorte inteligente Esquina Cambie los estilos de línea para señalar los taladros ocultos. Utilice Estilo de línea para cambiar las líneas de continuas a discontinuas. Volver a las categorías de tareas Adición de una ranura a la vista superior Antes (vista superior) Después (vista superior) Tareas Soluciones Centre la ranura en la vista. Utilice Línea constructiva para crear líneas constructivas horizontales y verticales. Cree las aristas horizontales de la ranura. Utilice Equidistanciar entidades para equidistanciar las líneas constructivas. Elimine las entidades de croquis sobrantes. Utilice Recortar entidades con la opción de recorte inteligente. Cree un arco para encerrar la ranura. Utilice Arco tangente . Elimine las entidades de croquis sobrantes. Utilice Recortar entidades con la opción de recorte inteligente. Cree una ranura simétrica en el lado opuesto de la vista de dibujo. Elimine la arista vertical del lado opuesto de la vista de dibujo (para crear un espacio para la ranura) y luego utilice Entidades simétricas para crear una ranura simétrica. Vídeo: Simetría de entidades Volver a las categorías de tareas Proyección de la ranura en las vistas frontal y derecha Antes (vistas frontal, superior y derecha) Después (vistas frontal, superior y derecha) Tareas Soluciones Alinee la ranura de la vista superior con la vista frontal. Utilice líneas infinitas verticales como líneas de proyección. Cambie los estilos de línea para señalar las ranuras ocultas. Utilice Estilo de línea para cambiar las líneas de continuas a discontinuas. Elimine las entidades de croquis sobrantes. Utilice Recortar entidades con la opción de recorte inteligente. Alinee la ranura de la vista superior con la vista derecha. Dibuje líneas infinitas horizontales como líneas de proyección y, a continuación, gire las líneas -90° con Girar entidades . Vídeo: Giro de líneas de proyección Elimine las entidades de croquis sobrantes. Utilice Recortar entidades con la opción recorte inteligente. Volver a las categorías de tareas Creación de una vista de sección a partir de la vista frontal Antes (vista frontal) Después (vista de sección) Tareas Soluciones Elimine la línea extra de la vista de dibujo para crear una sección transversal. Utilice Recortar entidades con la opción de recorte inteligente. Cambie los estilos de línea para que se muestren los taladros y las ranuras ocultos. Utilice Estilo de línea para cambiar las líneas de continuas a discontinuas. Cree un patrón de rayado para indicar las áreas sólidas de la vista de dibujo. Utilice Área rayada/Rellenar para aplicar secciones de rayado. Vídeo: Aplicación de secciones de rayado Volver a las categorías de tareas Tema principalHerramientas de diseño específicas para la industria Perspectiva general de herramientas para el diseño de máquinas Perspectiva general de Diseño de moldes Perspectiva general del diseño de herramientas y moldes Crear un dibujo a partir de un modelo 3D Con un modelo 3D, se puede crear el mismo dibujo en dos pasos. Tareas Soluciones Cree las vistas frontal, superior y derecha. En un nuevo hoja de dibujo, con la barra de herramientas Dibujo visible, seleccione 3 vistas estándar y examine el documento de la pieza en el PropertyManager 3 vistas estándar . Cree una vista de sección. En el documento de dibujo, utilice la herramienta Vista de sección para crear una vista de sección a partir de la vista superior. Se aplica el rayado automáticamente a las vistas de sección.
Crear un dibujo a partir de un modelo 3D Con un modelo 3D, se puede crear el mismo dibujo en dos pasos. Tareas Soluciones Cree las vistas frontal, superior y derecha. En un nuevo hoja de dibujo, con la barra de herramientas Dibujo visible, seleccione 3 vistas estándar y examine el documento de la pieza en el PropertyManager 3 vistas estándar . Cree una vista de sección. En el documento de dibujo, utilice la herramienta Vista de sección para crear una vista de sección a partir de la vista superior. Se aplica el rayado automáticamente a las vistas de sección.