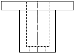
Görünümdeki yuvayı ortalayın.
|
Yatay ve dikey yapı çizgileri oluşturmak için
Merkez çizgisi
aracını kullanın.

|
Yuvanın yatay kenarlarını oluşturun.
|
Merkez çizgilerini ötelemek için
Objeleri Ötele
aracını kullanın.

|
Fazla çizim objelerini silin.
|
Objeleri Buda
aracını toplu kırpma seçeneğiyle kullanın.

|
Yuvayı çevrelemek için bir yay oluşturun.
|
Teğet Yay
aracını kullanın.

|
Fazla çizim objelerini silin.
|
Objeleri Buda
aracını toplu kırpma seçeneğiyle kullanın.

|
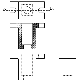
Teknik resim görünümünün karşı kenarında simetrik bir yuva oluşturun.
|
Teknik resim görünümünün karşı kenarının dikey kenarını silin (yuva için boşluk oluşturmak üzere) ve ardından yuvayı aynalamak için
Objeleri Aynala
aracını kullanın.
Video: Objelerin Aynalanması

|