隱藏目錄

文件屬性 - 零件號球

您可以為零件號球註記指定文件層級的草稿設定。您可以在 PropertyManager 中取代這些設定。

要開啟此頁面並且同時開啟工程圖,請按一下 選項 (在標準工具列中),選擇文件屬性標籤,然後選擇註記 > 零件號球

整體草稿標準


整體草稿標準 繼承自所選的草稿標準頁面設定。

基本零件號球標準

基本零件號球標準
選擇一種標準:
  • ANSI
  • ISO
  • DIN
  • JIS
  • BSI
  • GOST
  • GB

導線樣式


導線樣式 選擇:一個樣式。
導線粗細 選擇:一個粗細或是選擇自訂大小然後輸入粗細。

框架樣式


框架樣式 設定環繞文字的形狀。
框架粗細 選擇:一個粗細或是選擇自訂大小然後輸入粗細。

文字


字型

按一下以修改字型。


如果是剖半圓形零件號球的上半部或是所有其他的零件號球類型,請選擇:
  • 文字
  • 項次編號
  • 數量
  • 自訂屬性
上方套用於單一及堆疊的零件號球。
下方 如果是剖半圓形零件號球的下半部,請選擇:
  • 文字
  • 項次編號
  • 數量
  • 自訂屬性

導線顯示


導線顯示 從下列中選擇:

  • 直線
  • 彎折。在與文字對正的導線中插入一水平彎折。選擇下列之一:
    • 使用文件的導線長度。從註記頁面的設定中導出導線長度。
    • 導線長度。讓您輸入導線未彎折部分的長度。

圖層


圖層
選擇一個圖層。
您必須先為工程圖產生圖層,然後才能選擇它們作為文件屬性。

您必須在工程圖視圖文件的 for 圖層(圖層工具列)中選擇根據標準才能套用這些圖層設定。

單一零件號球

樣式 選擇將會顯示無邊框的零件號球,或選擇一個零件號球形狀。預設為圓形
圓形 三角形
六角形 方塊形
菱形 五角形
剖半圓形 旗標 - 五邊形
旗標 - 三角形 底線
I 形 方圓形
檢查
大小 選擇一個大小(特定的字元數),緊靠密合(自動調整配合文字),或自訂大小(您可以設定零件號球的大小)。

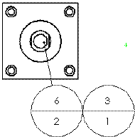
堆疊式零件號球

樣式 選擇一個零件號球的形狀。
大小

選擇一個大小(特定的字元數),緊靠密合(自動調整配合文字),或自訂大小(設定零件號球的大小)。

自動零件號球配置

選擇一種配置:
  • I 形
  • 左端
  • 圓形
  • 右端
方形配置
相關參考
相關資訊


提供對此主題的意見反應

SOLIDWORKS 歡迎您提供有關於文件呈現方式、正確性、及完整性的意見反應。請使用下方的表格直接將您對此主題的意見與建議傳送給我們的文件團隊。文件團隊並無法回答關於技術支援的問題。按一下此處來獲得關於技術支援的資訊

* 必要的

 
*電子郵件:  
主旨:   說明主題的意見反應
頁面:   文件屬性 - 零件號球
*意見:  
*   我承認已閱讀且僅此接受隱私權政策,Dassault Systèmes 將遵循此政策之規定使用我的個人資料

列印主題

選擇要列印的內容範圍:

x

偵測到您使用的瀏覽器版本是舊於 Internet Explorer 7。要獲得最佳的顯示,建議您升級瀏覽器到 Internet Explorer 7 或更新的版本。

 不要再次顯示此訊息
x

Web 式說明內容版本:SOLIDWORKS 2010 SP05

要從 SOLIDWORKS 中停用 Web 式的說明並改用本機說明,請按一下說明 > 使用 SOLIDWORKS Web 式說明

要報告在 Web 式說明介面及搜尋中遇到的問題,請聯絡您當地的技術支援代表。要針對個別說明主題提供意見反應,請使用個別主題頁面中的「提供對此主題的意見反應」連結。