方向指定公差の使用(Using Orientation Tolerances)
方向指定公差(Orientation Tolerances)オプションにより、TolAnalyst でフィーチャーの方向を明示的にコントロールするための公差を検討することができます。 ファスナーとピンをフロート(Float fasteners and pins)と組み合わせた場合、方向指定公差(Orientation Tolerances)オプションは TolAnalyst がフィーチャー間のクリアランスを使用して部品をワーストケース状態に回転することを許可します。
サポートされる公差:
方向指定公差(Orientation Tolerances)オプションは、フィーチャーの方向を暗黙的にコントロールするこれらの公差は検討しません: 位置寸法
(Location Dimension)ツールを使用して定義された位置度、面の輪郭度、長さ寸法
例 1
|
このアセンブリを使用してスタディを作成し、L 形ブラケットとトップ プレートの間の距離を評価します。 |

|
|
|
|
|
寸法値 106 は評価する距離を表します。 |

|
|
|
|
|
L 形ブラケットに図のような公差を適用します。 |

|
|
|
|
|
方向指定公差(Orientation Tolerances)オプションを選択解除すると、結果は最小値が 103.5、最大値が 108.5 となります。 |

|
|
|
|
|
方向指定公差(Orientation Tolerances)オプションを選択すると、結果は最小値が 98、最大値が 114 となります。
TolAnalyst が平行度を 1 と考える場合、フィーチャーも 125 +/- 2 範囲にとどまる必要があります。
|

|
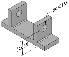
例 2
|
このアセンブリを使用してスタディを作成し、 35 の寸法によって表されるベースとシャフトの間の距離を評価します。 |

|
|
|
|
|
ベースの2つの穴にサイズ公差を適用します。 |

|
|
|
|
|
シャフトの直径にサイズ公差を適用します。 |

|
|
|
|
|
ファスナーとピンをフロート(Float fasteners and pins)が選択され、方向指定公差(Orientation Tolerances)が選択解除された状態で、結果は最小 33 、最大 37 になります。 シャフトが穴の上部から出ている事に注意してください。 |

|
|
|
|
|
ファスナーとピンをフロート(Float fasteners and pins)と方向指定公差(Orientation Tolerances)が選択された状態で、結果は最小 32 、最大 38 になります。 シャフトが回転され、左の穴の一番外側の上エッジと右の穴の一番外側の下エッジに接触していることに注意してください。 |

|