Expand EinführungEinführung
Expand VerwaltungVerwaltung
Expand BenutzeroberflächeBenutzeroberfläche
Expand Grundlagen von SolidWorksGrundlagen von SolidWorks
Expand Umsteigen von 2D auf 3DUmsteigen von 2D auf 3D
Expand BaugruppenBaugruppen
Expand CircuitWorksCircuitWorks
Expand KonfigurationenKonfigurationen
Expand SolidWorks CostingSolidWorks Costing
Expand Design CheckerDesign Checker
Expand Konstruktionsstudien in SolidWorksKonstruktionsstudien in SolidWorks
Collapse Zeichnungen und DetaillierungZeichnungen und Detaillierung
Expand DFMXpressDFMXpress
Expand DriveWorksXpressDriveWorksXpress
Expand FloXpressFloXpress
Expand Importieren und ExportierenImportieren und Exportieren
Expand GroßkonstruktionGroßkonstruktion
Expand ModellanzeigeModellanzeige
Expand GussformkonstruktionGussformkonstruktion
Expand BewegungsstudienBewegungsstudien
Expand Teile und FeaturesTeile und Features
Expand LeitungsführungLeitungsführung
Expand BlechBlech
Expand SimulationSimulation
Expand SimulationXpressSimulationXpress
Expand SkizzierenSkizzieren
Expand Sustainability ProdukteSustainability Produkte
Expand SolidWorks UtilitiesSolidWorks Utilities
Expand ToleranzenToleranzen
Expand ToolboxToolbox
Expand SchweißkonstruktionenSchweißkonstruktionen
Expand Workgroup PDMWorkgroup PDM
Expand ProblembehebungProblembehebung
Expand GlossarGlossar
Inhaltsverzeichnis ausblenden

Verschieben und Kopieren von Bemaßungen

Sobald Bemaßungen in einer Zeichnung angezeigt werden, können Sie diese innerhalb einer Ansicht oder in eine andere Ansicht verschieben. Wenn Sie die Bemaßung von einer Stelle an eine andere ziehen, wird die Bemaßung wieder passend am Modell befestigt. Bemaßungen können nur in eine Ansicht verschoben oder kopiert werden, deren Ausrichtung für diese Bemaßung passend ist.

  • Zum Verschieben einer Bemaßung innerhalb der Ansicht ziehen Sie die Bemaßung an die neue Position.

 

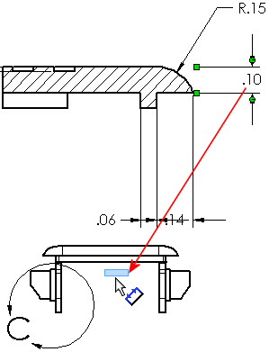
  • Um eine Bemaßung auf ein anderes Feature der gleichen Größe in der Ansicht zu verschieben, wählen Sie die Bemaßung aus und legen Sie den Pfeilziehpunkt ziehen und auf einer anderen Kante ab. Diese Methode funktioniert nur bei Radius-, Durchmesser- und Fasenbemaßungen.

  • Um Bemaßungen von einer Ansicht in eine andere zu verschieben, halten Sie beim Ziehen der Bemaßung in eine andere Ansicht die Umschalt-Taste gedrückt.

  • Um Bemaßungen von einer Ansicht in eine andere zu kopieren, halten Sie beim Ziehen der Bemaßung in eine andere Ansicht die Strg-Taste gedrückt. Verwenden Sie diese Methode zur Erstellung mehrerer steuernder Bemaßungen.

  • Zum gleichzeitigen Verschieben oder Kopieren mehrerer Bemaßungen halten Sie bei der Auswahl der Bemaßungen die Strg-Taste gedrückt.

 

  • Um eine Bemaßung zu drehen, ziehen Sie den dem Bemaßungstext am nächsten liegenden Ziehpunkt. Die Bemaßung wird in kleinen Schritten gedreht.

Siehe auch



Feedback zu diesem Thema geben

SOLIDWORKS ist dankbar für Ihr Feedback zur Präsentation, Genauigkeit und Vollständigkeit der Dokumentation. Verwenden Sie das nachstehende Formular, um Ihre Kommentare und Vorschläge zu diesem Thema direkt an unser Dokumentations-Team zu senden. Das Dokumentations-Team kann keine Fragen für den technischen Support beantworten. Klicken Sie hier für Informationen zum technischen Support.

* Erforderlich

 
*E-Mail:  
Betreff:   Feedback zu Hilfethemen
Seite:   Verschieben und Kopieren von Bemaßungen
*Kommentar:  
*   Ich bestätige, dass ich die Datenschutzerklärung, unter der meine personenbezogenen Daten durch Dassault Systèmes verarbeitet werden, gelesen habe und akzeptiere.

Thema drucken

Wählen Sie aus, was gedruckt werden soll:

x

Sie verwenden einen Browser, der älter als Internet Explorer 7 ist. Für eine optimierte Anzeige sollten Sie Ihren Browser auf Internet Explorer 7 oder höher aktualisieren.

 Diese Meldung nicht mehr anzeigen
x

Web-Hilfe Inhaltsversion: SOLIDWORKS 2012 SP05

Um die Web-Hilfe in SOLIDWORKS zu deaktivieren und stattdessen die lokale Hilfe zu verwenden, klicken Sie auf Help > SOLIDWORKS Web-Hilfe verwenden.

Um Probleme mit der Oberfläche und der Suche der Web-Hilfe zu melden, wenden Sie sich an Ihren Support vor Ort. Um Feedback zu einzelnen Hilfethemen zu geben, verwenden Sie den Link “Feedback zu diesem Thema” auf der entsprechenden Themenseite.