Mover e copiar dimensões
Quando as dimensões forem exibidas em um desenho, você poderá movê-las dentro de uma vista ou para outra vista. Arraste a dimensão de um lugar para o outro para conectá-la novamente ao modelo conforme apropriado. Você só poderá mover ou copiar dimensões para uma vista no caso em que a orientação for apropriada para a dimensão.
|
|
|
-
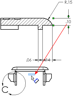
Para mudar uma dimensão para outro recurso com o mesmo tamanho dentro da vista, selecione a dimensão e arraste-solte a alça de seta em outra aresta. Este método funciona somente com dimensões radial, de diâmetro e de chanfro.
|

|
-
Para mover uma dimensão de uma vista para outra, mantenha a tecla Shift pressionada enquanto arrasta a dimensão para a outra vista.
-
Para copiar uma dimensão de uma vista para outra, mantenha a tecla Ctrl pressionada enquanto arrasta a dimensão para a outra vista. Use este método para criar múltiplas dimensões acionadoras.
|

|
|
|
|
|
|

|
Tópicos relacionados