Expand ÚvodÚvod
Expand SprávaSpráva
Expand Uživatelské rozhraníUživatelské rozhraní
Collapse Základy SolidWorksZáklady SolidWorks
Základní pojmy
Základní příkazy: Vyjmout, Kopírovat, Vložit, Zpět a Znovu
Expand Nápověda, vyhledávání a webové zdrojeNápověda, vyhledávání a webové zdroje
Expand Základní operace s dokumentyZákladní operace s dokumenty
Collapse Možnosti SolidWorksMožnosti SolidWorks
Expand ZobrazitZobrazit
Expand VýběrVýběr
Expand Vlastnosti souboruVlastnosti souboru
Expand Nástroj ZměřitNástroj Změřit
Expand ČidlaČidla
Expand RovniceRovnice
Expand Nástroje pro návrhy v závislosti na odvětvíNástroje pro návrhy v závislosti na odvětví
Přehled o Xperts
Doplňkové moduly
Rychlé spuštění SolidWorks
Expand Propojování a vkládání objektůPropojování a vkládání objektů
Expand Nahrávání a přehrávání makerNahrávání a přehrávání maker
Expand Vzájemná funkčnost s předchozí verzí Vzájemná funkčnost s předchozí verzí
API programu SolidWorks
Plánovač úloh SolidWorks
Expand Přestup z 2D na 3DPřestup z 2D na 3D
Expand SestavySestavy
Expand CircuitWorksCircuitWorks
Expand KonfiguraceKonfigurace
Expand SolidWorks CostingSolidWorks Costing
Expand Design CheckerDesign Checker
Expand Designová studie v SolidWorksDesignová studie v SolidWorks
Expand Detailování a výkresyDetailování a výkresy
Expand DFMXpressDFMXpress
Expand DriveWorksXpressDriveWorksXpress
Expand FloXpressFloXpress
Expand Import a exportImport a export
Expand Zobrazení modeluZobrazení modelu
Expand Navrhování foremNavrhování forem
Expand Studie pohybuStudie pohybu
Expand Díly a prvkyDíly a prvky
Expand Vyznačení trasyVyznačení trasy
Expand Plechové dílyPlechové díly
Expand Aplikace SimulationAplikace Simulation
Expand SimulationXpressSimulationXpress
Expand SkicováníSkicování
Expand Produkty SustainabilityProdukty Sustainability
Expand SolidWorks UtilitiesSolidWorks Utilities
Expand TolerováníTolerování
Expand TolAnalystTolAnalyst
Expand ToolboxToolbox
Expand SvařováníSvařování
Expand Workgroup PDMWorkgroup PDM
Expand Řešení potížíŘešení potíží
Pojmy
Skrýt obsah

Vlastnosti dokumentu - Pozice

Můžete určit nastavení výkresů na úrovni dokumentu pro všechny popisy pozice. Tato nastavení lze přepsat ve správci PropertyManager. Funkce je k dispozici pro dokumenty všech typů.

Chcete-li tuto stránku otevřít, klepněte ve výkresu na ikonu Možnosti (základní panel nástrojů), vyberte záložku Vlastnosti dokumentu a zde možnost Popisy > Pozice.

Základní norma pozic

Norma pozic základny  
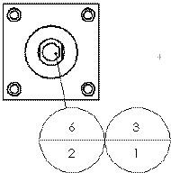
Horní Pro horní část pozice kruhové dělící křivky nebo pro jiné typy pozice zvolte:
  • Text
  • Číslo položky
  • Množství
  • Uživatelské vlastnosti
Horní se vztahuje na jednoduché a sdružené pozice.
Dolní Pro dolní část pozice kruhové dělící křivky zvolte:
  • Text
  • Číslo položky
  • Množství
  • Uživatelské vlastnosti

Jednoduchá pozice

Styl Zvolte Žádný pro zobrazení textu pozice bez ohraničení, nebo zvolte tvar pozice. Výchozí nastavení je Kruhové.
Kruhové Trojúhelníkové
Šestiúhelníkové Obdélníkové
Kosočtvercové Pětiúhelníkové
Rozdělená kružnice Vlajka - pětistranná
Vlajka - trojúhelník Podtržené
Čtvercové Čtvercový kruh
Kontrola Žádná
Velikost Vyberte velikost (konkrétní počet znaků), Přizpůsobit (automaticky se přizpůsobí textu), nebo Vlastní velikost (sami nastavíte velikost pozice).

Sdružené pozice

Styl Vyberte tvar pozice.
Velikost

Vyberte velikost (konkrétní počet znaků), Přizpůsobit (automaticky se přizpůsobí textu), nebo Vlastní velikost (sami nastavíte velikost pozice).

Automatické rozvržení pozic

Vyberte rozvržení:
  • Čtyřhranná
  • Dole
  • Levý
  • Kruhové
  • Nahoru
  • Pravý
Čtvercové rozvržení


Vyjádřete svůj názor na toto téma

SOLIDWORKS uvítá vaše názory ohledně prezentace, přesnosti a obsahu dokumentace. Pomocí níže uvedeného formuláře zašlete komentáře a doporučení k tomuto tématu přímo dokumentačnímu týmu. Dokumentační tým nebude odpovídat na otázky související s technickou podporou. Klepnutím zde získáte informace o technické podpoře.

* Povinné

 
*Email:  
Předmět:   Váš názor na témata nápovědy
Stránka:   Vlastnosti dokumentu - Pozice
*Komentář:  
*   Prohlašuji, že jsem si přečetl/a a souhlasím se zásadami ochrany osobních údajů, podle kterých bude společnost Dassault Systèmes zpracovávat moje osobní údaje

Tisk tématu

Zvolte rozsah, který se má tisknout:

x

Zjistili jsme, že používáte starší verzi prohlížeče než je Internet Explorer 7. Pro optimální zobrazení vám doporučujeme, aby jste upgradovali na Internet Explorer 7 nebo novější.

 Příště tuto zprávu nezobrazovat
x

Verze nápovědy na webu: SOLIDWORKS 2013 SP05

Chcete-li vypnout webovou nápovědu v rámci SOLIDWORKS a raději používat místní nápovědu, klikněte na Nápověda > Použít SOLIDWORKS nápovědu na webu.

Problémy s uživatelským rozhraním a vyhledáváním v nápovědě na webu nahlaste zástupci místní technické podpory. Zašlete váš názor na individuální témata nápovědy prostřednictvím odkazu “Váš názor na toto téma” na každé straně.