Expand ВведениеВведение
Expand АдминистрацияАдминистрация
Expand Интерфейс пользователяИнтерфейс пользователя
Collapse Основные принципы SolidWorksОсновные принципы SolidWorks
Expand Переход из  2D в 3DПереход из 2D в 3D
Expand СборкиСборки
Expand CircuitWorksCircuitWorks
Expand КонфигурацииКонфигурации
Expand SolidWorks CostingSolidWorks Costing
Expand Design CheckerDesign Checker
Expand Исследования проектирования в SolidWorksИсследования проектирования в SolidWorks
Expand Чертежи и оформлениеЧертежи и оформление
Expand DFMXpressDFMXpress
Expand DriveWorksXpressDriveWorksXpress
Expand FloXpressFloXpress
Expand Импорт и экспортИмпорт и экспорт
Expand Отображение моделиОтображение модели
Expand Проектирование литейной формыПроектирование литейной формы
Expand Исследования движенияИсследования движения
Expand Детали и элементыДетали и элементы
Expand МаршрутМаршрут
Expand Листовой металлЛистовой металл
Expand SimulationSimulation
Expand SimulationXpressSimulationXpress
Expand Создание эскизаСоздание эскиза
Expand Продукты Sustainability Продукты Sustainability
Expand SolidWorks UtilitiesSolidWorks Utilities
Expand ОтклоненияОтклонения
Expand TolAnalystTolAnalyst
Expand ToolboxToolbox
Expand Сварные деталиСварные детали
Expand Workgroup PDMWorkgroup PDM
Expand Устранение неполадокУстранение неполадок
Глоссарий
Скрыть содержание

Обзор двухмерного черчения

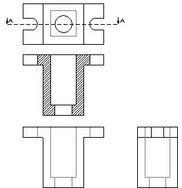
Данный обзор содержит список типичных задач двухмерного черчения и соответствующие решения SolidWorks. Задачи и решения дают представление о механизме создания следующего чертежа.



Посмотрите, как можно создать такой чертеж из трехмерной модели.

В этом обзоре не используются инструменты оформления и примечаний. Пошаговые инструкции по использованию инструментов оформления и примечаний SolidWorks см. в учебном пособии "Расширенные чертежи", которые можно найти, выбрав Справка > Учебные пособия SolidWorks > Все учебные пособия SolidWorks.

Категории задач

Создание вида спереди

Задачи Решения
Создать горизонтальные кромки чертежного вида. Нарисуйте нижнюю горизонтальную линию с помощью инструмента Линия, затем с помощью инструмента Смещение объектов создайте дополнительные кромки.

Создать вертикальные кромки чертежного вида. Нарисуйте линию симметрии с помощью инструмента Осевая линия

, затем с помощью инструмента Смещение объектов сместите осевую линию в двух направления.

Удалить лишние объекты эскиза. Используйте инструмент Отсечь объекты
с настройками угла и параметром Мощное отсечение.
Изменить типы линий для обозначения скрытых отверстий. Чтобы изменить сплошные линии на пунктирные, используйте инструмент Тип линии.
Возврат к категориям задач

Создание вида сверху путем проецирования вида спереди

До создания (вид спереди) После создания (вид спереди и сверху)
Задачи Решения
Выровнять вид сверху и вид спереди. С помощью инструмента Линия нарисуйте в качестве линий проекции вертикальные бесконечные линии.

Видео: Вычерчивание вертикальных бесконечных линий как линий проекции



Создать горизонтальные кромки чертежного вида. С помощью инструмента Осевая линия начертите горизонтальную линию симметрии, чтобы определить середину чертежного вида. Сместите осевую линию с помощью инструмента Смещение объектов , чтобы создать дополнительные кромки чертежного вида.

Удалить лишние объекты эскиза. Используйте инструмент Отсечь объекты с параметрами Отсечь снаружи, Мощное отсечение и настройками угла.
Отсечь снаружи Угол
Мощное отсечение

Видео: Отсечение снаружи

Создать отверстие в центре чертежа. Чтобы создать отверстие с привязкой в центре чертежа, используйте инструменты Окружность и Привязка по средним точкам .

Видео: Вычерчивание окружности с привязкой к центру чертежа

Привязка по средним точкам
Окружность
Удалить лишние линии. Чтобы выбрать несколько линий, удерживайте клавишу Ctrl и нажмите клавишу Delete.

Изменить типы линий для обозначения скрытых отверстий. Чтобы изменить сплошные линии на пунктирные, используйте инструмент Тип линии.

Возврат к категориям задач

Создание вида справа путем проецирования вида спереди и сверху

До создания (вид спереди и сверху) После создания (вид спереди, сверху и справа)
Задачи Решения
Выровнять вид справа с видом спереди и сверху. В качестве линий проекции используйте горизонтальные бесконечные линии.

Создать вертикальные кромки чертежного вида. Вращайте линии проекции (в виде Сверху) -90° с помощью инструмента Вращать объекты.

Видео: Вращение объектов



Удалить лишние объекты эскиза. Используйте инструмент Отсечь объекты с параметрами Отсечь снаружи, Мощное отсечение и настройками угла.
Отсечь снаружи Мощное отсечение Угол
Изменить типы линий для обозначения скрытых отверстий. Чтобы изменить сплошные линии на пунктирные, используйте инструмент Тип линии.
Возврат к категориям задач

Добавление прорези к виду сверху

До создания (вид сверху) После создания (вид сверху)
Задачи Решения
Расположить прорезь в центре вида. Чтобы создать горизонтальные и вертикальные вспомогательные линии, используйте инструмент Осевая линия.

Создать горизонтальные кромки прорези. Чтобы сместить осевые линии, используйте инструмент Смещение объектов.

Удалить лишние объекты эскиза. Используйте инструмент Отсечь объекты с параметром Мощное отсечение.

Создать дугу, чтобы охватить прорезь. Используйте инструмент Касательная дуга.

Удалить лишние объекты эскиза. Используйте инструмент Отсечь объекты с параметром Мощное отсечение.

Создать симметричную прорезь на противоположной стороне чертежного вида. Удалите вертикальную кромку на противоположной стороне чертежного вида (чтобы создать пространство для прорези), затем зеркально отразите прорезь с помощью инструмента Зеркально отразить объекты .

Видео: Зеркально отразить объекты



Возврат к категориям задач

Проецирование прорези на вид спереди и справа

До создания (вид спереди, сверху и справа)
После создания (вид спереди, сверху и справа)
Задачи Решения
Выровнять прорезь вида сверху с видом спереди. В качестве линий проекции используйте вертикальные бесконечные линии.

Изменить типы линий для обозначения скрытых прорезей. Чтобы изменить сплошные линии на пунктирные, используйте инструмент Тип линии.

Удалить лишние объекты эскиза. Используйте инструмент Отсечь объекты с мощным методом отсечения.

Выровнять прорезь вида сверху с видом справа. Начертите горизонтальные бесконечные линии как линии проекции, затем поверните линии на -90° с помощью инструмента Вращать объекты.

Видео: Вращение линий проекции

Удалить лишние объекты эскиза. Используйте инструмент Отсечь объекты с параметром Мощное отсечение.

Возврат к категориям задач

Создание разреза из вида спереди

До создания (вид спереди) После создания (вид сечения)
Задачи Решения
Удалить дополнительную линию в чертежном виде, чтобы создать поперечное сечение. Используйте инструмент Отсечь объекты с мощным методом отсечения.

Изменить типы линий, чтобы отобразить скрытые отверстия и прорези. Чтобы изменить сплошные линии на пунктирные, используйте инструмент Тип линии.

Создать штриховку, чтобы обозначить в чертежном виде сплошные участки. Чтобы применить сечение с штриховкой, используйте инструмент Тип штриховки/заполнить .

Видео: Применение заштрихованных сечений



Возврат к категориям задач

Создание чертежа из трехмерной модели

Чертеж трехмерной модели можно создать в два этапа.



Задачи Решения
Создать вид спереди, сверху и справа. В новом чертежном листе с отображенной панелью инструментов "Чертеж" выберите 3 стандартных вида и перейдите в документ детали в PropertyManager 3 стандартных вида.
Создать разрез. В документе чертежа можно создать разрез сверху с помощью инструмента Разрез. При этом штриховка в разрезах будет применяться автоматически.


Оставьте отзыв об этом разделе

SOLIDWORKS благодарит Вас за отзыв по поводу представления, точности и полноты документации. Воспользуйтесь формой ниже, чтобы отправить свои комментарии и предложения о данном разделе справки в Отдел документации. Отдел документации не предоставляет ответы на вопросы по технической поддержке. Нажмите здесь для получения информации о технической поддержке.

* Обязательно

 
*Электронная почта:  
Тема:   Отзывы по поводу разделов Справки
Страница:   Обзор двухмерного черчения
*Отзыв:  
*   Я подтверждаю, что прочитал(а) и принимаю положения политики конфиденциальности, в соответствии с которыми Dassault Systèmes будет использовать мои персональные данные.

Печать разделов

Выберите содержимое для печати:

x

Вы используете более раннюю версию браузера, чем Internet Explorer 7. Для оптимизации отображения рекомендуется обновить Ваш браузер до версии Internet Explorer 7 или новее.

 Больше не отображать это сообщение
x

Версия содержимого веб-справки: SOLIDWORKS 2013 SP05

Чтобы отключить веб-справку в программе SOLIDWORKS и использовать локальную версию справки, нажмите Справка > Использовать веб-справку по SOLIDWORKS .

По проблемам, связанным с интерфейсом и поиском по веб-справке, обращайтесь к местному представителю службы поддержки. Чтобы оставить отзыв по отдельным темам справки, воспользуйтесь ссылкой "Отзыв об этом разделе" на странице нужного раздела.