Masquer le sommaire

Vue d'ensemble de l'esquisse 2D

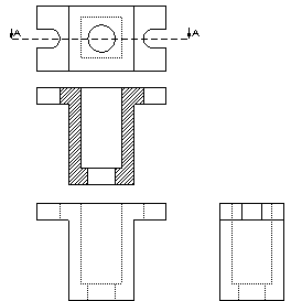
Cette vue d'ensemble présente les tâches courantes en matière d'esquisse 2D, ainsi que les solutions SolidWorks qui vous aident à les exécuter. Elle a pour but de vous montrer comment créer la mise en plan suivante.



Voir comment créer cette mise en plan à partir d'un modèle 3D.

Les outils d'habillage et d'annotation ne sont pas utilisés dans cette vue d'ensemble. Reportez-vous au Tutoriel Mise en plan avancée pour une présentation étape par étape des outils d'habillage et d'annotation de SolidWorks. Vous y accédez en cliquant sur ? > Tutoriels SolidWorks > Tous les tutoriels SolidWorks.

Catégories de tâches

Création d'une vue de face

Tâches Solutions
Créer les arêtes horizontales de la vue de mise en plan. Esquissez la ligne horizontale du bas avec l'outil Ligne , puis utilisez l'outil Décaler les entités pour créer des arêtes supplémentaires.

Créer les arêtes verticales de la vue de mise en plan. Esquissez une ligne de symétrie avec le Ligne de construction

outil et utilisez l'outil Décaler les entités pour décaler la ligne de construction bidirectionnellement.

Supprimer l'excédent d'entités d'esquisse. Utilisez l'outil Ajuster les entités
avec les options coin et ajustement intelligent.
Modifier le style des lignes pour indiquer les perçages cachés. Utilisez l'outil Style de ligne pour changer les lignes continues en lignes en pointillé.
Retourner aux catégories de tâches

Création d'une vue de dessus en projetant une vue de face

Avant (vue de face) Après (vues de face et de dessus)
Tâches Solutions
Aligner la vue de dessus sur la vue de face. Esquissez des lignes infinies verticales comme lignes de projection avec l'outil Ligne.

Vidéo: Esquisse de lignes infinies verticales comme lignes de projection



Créer les arêtes horizontales de la vue de mise en plan. Esquissez une ligne de symétrie horizontale avec l'outil Ligne de construction pour définir le milieu de la vue de mise en plan. Décalez la ligne de construction avec l'outil Décaler les entités pour créer des arêtes supplémentaires de la vue de mise en plan.

Supprimer l'excédent d'entités d'esquisse. Utilisez l'outil Ajuster les entités avec les options ajuster l'extérieur, coin et ajustement intelligent.
Ajuster l'extérieur Coin
Ajustement intelligent

Vidéo: Ajuster les entités extérieures

Créer un perçage au centre de la mise en plan. Utilisez les outils Cercle et Points milieu aimantés pour créer un perçage aimanté au centre de la mise en plan.

Vidéo: Esquisse d'un cercle s'alignant sur le centre de la mise en plan

Points milieu aimantés
Cercle
Supprimer l'excédent de lignes. Maintenez la touche Ctrl enfoncée pour sélectionner plusieurs lignes et appuyez sur Suppr.

Modifier le style des lignes pour indiquer les perçages cachés. Utilisez l'outil Style de ligne pour changer les lignes continues en lignes en pointillé.

Retourner aux catégories de tâches

Création d'une vue de droite en projetant une vue de face et de dessus

Avant (vues de face et de dessus) Après (vues de face, de dessus et de droite)
Tâches Solutions
Aligner la vue de droite sur les vues de face et de dessus. Utilisez des lignes infinies horizontales comme lignes de projection.

Créer les arêtes verticales de la vue de mise en plan. Faites pivoter les lignes de projection (sur la vue de dessus) de -90° avec l'outil Faire pivoter les entités.

Vidéo: Rotation d'entités



Supprimer l'excédent d'entités d'esquisse. Utilisez l'outil Ajuster les entités avec les options ajuster l'extérieur, ajustement intelligent et coin.
Ajuster l'extérieur Ajustement intelligent Coin
Modifier le style des lignes pour indiquer les perçages cachés. Utilisez l'outil Style de ligne pour changer les lignes continues en lignes en pointillé.
Retourner aux catégories de tâches

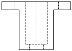
Ajout d'une encoche à la vue de dessus

Avant (vue de dessus) Après (vue de dessus)
Tâches Solutions
Centrer l'encoche sur la vue. Utilisez l'outil Ligne de construction pour créer des lignes de construction horizontales et verticales.

Créer les arêtes horizontales de l'encoche. Utilisez l'outil Décaler les entités pour décaler les lignes de construction.

Supprimer l'excédent d'entités d'esquisse. Utilisez l'outil Ajuster les entités avec l'option ajustement intelligent.

Créer un arc pour compléter l'encoche. Utilisez l'outil Arc tangent.

Supprimer l'excédent d'entités d'esquisse. Utilisez l'outil Ajuster les entités avec l'option ajustement intelligent.

Créer une encoche symétrique de l'autre côté de la vue de mise en plan. Supprimez l'arête verticale sur le côté opposé de la vue de mise en plan (pour faire place à l'encoche), puis utilisez l'outil Entités symétriques pour réaliser la symétrique de l'encoche.

Vidéo : Symétrie d'entités



Retourner aux catégories de tâches

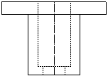
Projection de l'encoche sur les vues de face et de droite

Avant (vues de face, de dessus et de droite)
Après (vues de face, de dessus et de droite)
Tâches Solutions
Aligner l'encoche sur la vue de dessus avec la vue de face. Utilisez des lignes infinies verticales comme lignes de projection.

Modifier le style des lignes pour indiquer les encoches cachées. Utilisez l'outil Style de ligne pour changer les lignes continues en lignes en pointillé.

Supprimer l'excédent d'entités d'esquisse. Utilisez l'outil Ajuster les entités avec l'option ajustement intelligent.

Aligner l'encoche sur la vue de dessus avec la vue de droite. Esquissez des lignes infinies horizontales comme lignes de projection, puis faites-les pivoter de -90 ° avec l'outil Faire pivoter les entités.

Vidéo : Rotation de lignes de projection

Supprimer l'excédent d'entités d'esquisse. Utilisez l'outil Ajuster les entités avec l'option ajustement intelligent.

Retourner aux catégories de tâches

Création d'une vue en coupe à partir de la vue de face

Avant (vue de face) Après (vue en coupe)
Tâches Solutions
Supprimer la ligne en trop dans la vue de mise en plan pour créer une coupe transversale. Utilisez l'outil Ajuster les entités avec l'option ajustement intelligent.

Modifier le style des lignes pour montrer les perçages et les encoches cachés. Utilisez l'outil Style de ligne pour changer les lignes continues en lignes en pointillé.

Créer un motif de hachures pour indiquer les zones pleines de la vue de mise en plan. Utiliser l'outil Zone hachurée/Remplir pour appliquer des hachures à la coupe.

Vidéo : Application de zones hachurées



Retourner aux catégories de tâches

Créer une mise en plan à partir d'un modèle 3D

Avec un modèle 3D, vous pouvez créer la même mise en plan en deux étapes.



Tâches Solutions
Créer les vues de face, de dessus et de droite. Dans un nouveau feuille de mise en plan, avec la barre d'outils Mise en plan affichée, sélectionnez 3 vues standard et recherchez le document de pièce dans le 3 vues standard PropertyManager.
Créer une vue en coupe. Dans le document de mise en plan, utilisez l'outil Vue en coupe pour créer une vue en coupe à partir de la vue de dessus. Un hachurage est automatiquement appliqué aux vues en coupe.


Faire un commentaire sur cette rubrique

Tous les commentaires concernant la présentation, l'exactitude et l'exhaustivité de la documentation sont les bienvenus. Utilisez le formulaire ci-dessous pour faire parvenir vos commentaires et suggestions directement à notre équipe de documentation. Celle-ci ne peut pas répondre aux questions de support technique. Cliquez ici pour des informations sur le support technique.

* Requis

 
*Courriel:  
Sujet:   Commentaires sur les rubriques d'aide
Page:   Vue d'ensemble de l'esquisse 2D
*Commentaire:  
*   Je reconnais avoir pris connaissance et accepter par la présente la politique de confidentialité en vertu de laquelle mes données personnelles seront utilisées par Dassault Systèmes

Rubrique d'impression

Sélectionner l'étendue du contenu à imprimer :

x

La version du navigateur que vous utilisez est antérieure à Internet Explorer 7. Afin d'optimiser l'affichage, nous suggérons d'utiliser Internet Explorer 7 ou une version ultérieure.

 Ne plus afficher ce message
x

Version du contenu de l'aide sur le Web: SOLIDWORKS 2014 SP05

Pour désactiver l'aide sur le Web dans SOLIDWORKS et utiliser l'aide locale à la place, cliquez sur ? > Utiliser l'aide sur le Web de SOLIDWORKS.

Pour signaler tout problème rencontré avec l'interface ou la fonctionnalité de recherche de l'aide sur le Web, contactez votre support technique local. Pour faire part de vos commentaires sur des rubriques d'aide individuelles, utilisez le lien “Commentaires sur cette rubrique” sur la page de la rubrique concernée.