Expand IntroductionIntroduction
Expand AdministrationAdministration
Expand User InterfaceUser Interface
Expand SOLIDWORKS FundamentalsSOLIDWORKS Fundamentals
Expand Moving from 2D to 3DMoving from 2D to 3D
Expand AssembliesAssemblies
Expand CircuitWorksCircuitWorks
Expand ConfigurationsConfigurations
Expand SOLIDWORKS CostingSOLIDWORKS Costing
Expand Design CheckerDesign Checker
Expand Design Studies in SOLIDWORKSDesign Studies in SOLIDWORKS
Collapse Detailing and DrawingsDetailing and Drawings
Expand DFMXpressDFMXpress
Expand DriveWorksXpressDriveWorksXpress
Expand FloXpressFloXpress
Expand SLDXML Data ExchangeSLDXML Data Exchange
Expand Import and ExportImport and Export
Expand Model DisplayModel Display
Expand Mold DesignMold Design
Expand Motion StudiesMotion Studies
Expand Parts and FeaturesParts and Features
Expand RoutingRouting
Expand Sheet MetalSheet Metal
Expand SimulationSimulation
Expand SimulationXpressSimulationXpress
Expand SketchingSketching
Expand Sustainability ProductsSustainability Products
Expand SOLIDWORKS MBDSOLIDWORKS MBD
Expand SOLIDWORKS UtilitiesSOLIDWORKS Utilities
Expand TolerancingTolerancing
Expand TolAnalystTolAnalyst
Expand ToolboxToolbox
Expand WeldmentsWeldments
Expand Workgroup PDMWorkgroup PDM
Expand TroubleshootingTroubleshooting
Glossary
Hide Table of Contents

Moving and Copying Dimensions

Once dimensions are displayed in a drawing, you can move them within a view or to another view. When you drag a dimension from one place to another, the dimension reattaches to the model, as appropriate. You can only move or copy dimensions to a view where the orientation is appropriate for that dimension.

Video: Moving and Copying Dimensions

To move a dimension within the view:

Drag the dimension to the new position.

To switch a dimension to a different feature of the same size within the view:

Select the dimension and drag and drop the arrowhead handle to another edge.

This method works for radial, diameter, and chamfer dimensions only.
switch_same_sized_features_01.gif

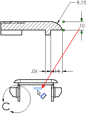
To move or copy dimensions from one view to another view:

Hold the Shift key (to move) or the Ctrl key (to copy) as you drag the dimensions into another view.

Use this method to create multiple driving dimensions.
move_copy_dims.gif

To move or copy several dimensions at once:

Hold the Ctrl key as you select.

To rotate a dimension:

Drag the handle nearest the dimension text.

The dimension rotates in small intervals.
rotate_dimension.gif

Dimension Leader Control for Same-sized Features

You can move radial, diameter, or chamfer dimension leaders, or hole callout leaders among same-sized features in a drawing view.

To move the dimension and hole callout leader endpoints for common features, drag leader endpoints from one feature to another.



Provide feedback on this topic

SOLIDWORKS welcomes your feedback concerning the presentation, accuracy, and thoroughness of the documentation. Use the form below to send your comments and suggestions about this topic directly to our documentation team. The documentation team cannot answer technical support questions. Click here for information about technical support.

* Required

 
*Email:  
Subject:   Feedback on Help Topics
Page:   Moving and Copying Dimensions
*Comment:  
*   I acknowledge I have read and I hereby accept the privacy policy under which my Personal Data will be used by Dassault Systèmes

Print Topic

Select the scope of content to print:

x

We have detected you are using a browser version older than Internet Explorer 7. For optimized display, we suggest upgrading your browser to Internet Explorer 7 or newer.

 Never show this message again
x

Web Help Content Version: SOLIDWORKS 2015 SP05

To disable Web help from within SOLIDWORKS and use local help instead, click Help > Use SOLIDWORKS Web Help.

To report problems encountered with the Web help interface and search, contact your local support representative. To provide feedback on individual help topics, use the “Feedback on this topic” link on the individual topic page.