Expand 머리말머리말
Expand 관리관리
Expand 사용자 인터페이스사용자 인터페이스
Collapse SOLIDWORKS 기초SOLIDWORKS 기초
Expand 기존 2D 사용자를 위한 도움말기존 2D 사용자를 위한 도움말
Expand 어셈블리어셈블리
Expand CircuitWorksCircuitWorks
Expand 설정설정
Expand SOLIDWORKS CostingSOLIDWORKS Costing
Expand Design CheckerDesign Checker
Expand SOLIDWORKS 설계 스터디SOLIDWORKS 설계 스터디
Expand 도면 및 도면화도면 및 도면화
Expand DFMXpressDFMXpress
Expand DriveWorksXpressDriveWorksXpress
Expand FloXpressFloXpress
Expand SLDXML 데이터 교환SLDXML 데이터 교환
Expand 불러오기/내보내기불러오기/내보내기
Expand 모델 표시모델 표시
Expand 금형 설계금형 설계
Expand 모션 스터디모션 스터디
Expand 파트와 피처파트와 피처
Expand RoutingRouting
Expand 판금판금
Expand SimulationSimulation
Expand SimulationXpressSimulationXpress
Expand 스케치스케치
Expand Sustainability 제품Sustainability 제품
Expand SOLIDWORKS MBDSOLIDWORKS MBD
Expand SOLIDWORKS UtilitiesSOLIDWORKS Utilities
Expand 공차공차
Expand TolAnalystTolAnalyst
Expand ToolboxToolbox
Expand 용접구조물용접구조물
Expand Workgroup PDMWorkgroup PDM
Expand 문제 해결문제 해결
용어
목차 숨기기

문서 속성 - 부품번호

부품번호 주석의 문서 수준 제도 설정을 지정할 수 있습니다. PropertyManager에서 이 설정을 무시하고 다시 정의할 수 있습니다. 모든 문서 유형에 사용할 수 있습니다.

이 페이지를 여는 방법

도면을 연 상태에서 옵션 (표준 도구 모음)을(를) 클릭하고 문서 속성 탭을 선택한 다음 주석 > 부품 번호을(를) 선택합니다.

일반 제도 표준

일반 제도 표준 선택한 제도 표준 페이지 설정을 사용합니다.

기본 부품번호 규격

기본 부품번호 규격
규격 선택:
  • ANSI
  • Iso
  • DIN
  • JIS
  • Bsi
  • GOST
  • GB

지시선 유형

지시선 유형 다음에서 선택합니다. 유형
지시선 두께 다음에서 선택합니다. 두께를 선택하거나 사용자 정의 크기를 선택하고 원하는 두께를 입력합니다.

프레임 유형

프레임 유형 문자를 감싸는 모양의 유형을 설정합니다.
프레임 두께 다음에서 선택합니다. 두께를 선택하거나 사용자 정의 크기를 선택하고 원하는 두께를 입력합니다.

문자

글꼴

글꼴을 수정하기 위해 클릭합니다.

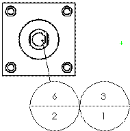
분할원 부품번호 유형의 상단 부분 또는 모든 다른 유형의 전체 부품번호의 경우 다음을 선택:
  • 텍스트
  • 항목 번호
  • 수량
  • 사용자정의 속성
는 단일 부품번호와 일렬 부품번호에 적용합니다.
아래 분할원 부품번호 유형의 하단 부분의 경우 다음을 선택:
  • 텍스트
  • 항목 번호
  • 수량
  • 사용자정의 속성

지시선 표시

지시선 표시 다음 옵션에서 선택합니다:
  • 직선형(S)
  • 굽은형. 수평 굽힙선이 있는 지시선을 삽입합니다.(문자와 정렬) 다음 중에서 선택합니다.
    • 문서 지시선 길이 사용. 주석 페이지 설정에서 지시선 길이가 파생됩니다.
    • 지시선 길이. 지시선의 구부러지지 않은 부분의 길이를 입력할 수 있습니다.

레이어

레이어
레이어를 선택합니다.
문서 속성에서 레이어를 선택할 수 있으려면, 도면에 먼저 레이어를 작성해야만 합니다.
이 레이어 설정을 적용하려면, 도면뷰의 표준 규격대로 (레이어 도구 모음)로 표준 규격대로를 선택해야 합니다.

단일 부품 번호

유형 없음을 선택하여 부품번호 텍스트를 테두리 없이 표시하거나, 원하는 부품번호 모양을 선택합니다. 기본값은 원형 입니다.
원형 삼각형 프로파일
육각형 사각형
다이아몬드 오각형
분할원 깃발-오각형
깃발-삼각형 밑줄
사각형 사각형 원
검사 없음
크기 크기 (지정된 문자의 수), 끼워 맞춤 (자동으로 문자에 맞게 조정), 또는 사용자정의 크기 (부품번호의 크기 직접 지정)를 선택합니다.

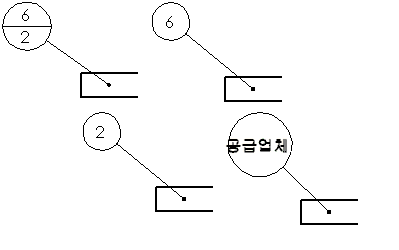
일렬 부품 번호

유형 부품번호 모양을 선택합니다.
크기

크기 (지정된 문자의 수), 끼워 맞춤 (자동으로 문자에 맞게 조정), 또는 사용자정의 크기 (부품번호의 크기 직접 지정)를 선택합니다.

자동 부품번호 배열

레이아웃을 선택합니다.
  • balloon_auto_square.png 버튼 사각형
  • balloon_auto_bottom.png 버튼아랫면
  • balloon_auto_left.png 버튼 좌측면
  • balloon_auto_circular.png 버튼 원형
  • balloon_auto_top.png 버튼 위쪽
  • balloon_auto_right.png 버튼 우측면
사각형 배열


이 도움말에 대한 피드백 제공

SOLIDWORKS는 도움말 정보의 개선을 위한 고객님의 제안 사항과 의견을 환영합니다. 제안하고자 하는 의견을 아래 양식에 작성하여 도움말 문서 팀에 직접 전달할 수 있습니다. 문서 팀은 제품에 관한 기술적인 지원은 하지 않습니다. 기술 지원에 관한 정보는 여기를 클릭하십시오.

* 필수 입력

 
*전자 메일:  
제목:   도움말에 대한 피드백
페이지:   문서 속성 - 부품번호
*사용자 의견:  
*   개인정보 보호정책을 읽었으며 본 정책에 따라 Dassault Systèmes에서 내 개인 정보를 사용하는 것에

인쇄 항목

인쇄할 콘텐츠 범위 선택:

x

Internet Explorer 7 이전 버전을 사용하고 있습니다. 페이지를 최적화하려면 사용 브라우저를 Internet Explorer 7 이상으로 업그레이드합니다.

 이 메시지를 다시 표시하지 않음
x

웹 도움말 콘텐츠 버전: SOLIDWORKS 2015 SP05

SOLIDWORKS에서 웹 도움말 기능을 비활성화하고 로컬 도움말을 사용하려면, 도움말 > SOLIDWORKS 웹 도움말 사용을 클릭합니다.

웹 도움말 인터페이스나 검색 기능에서 발생한 오류 사항을 보고하려면, 로컬 지원 서비스 담당자에게 문의하십시오. 개별 도움말 항목에 대한 피드백을 제공하려면, 각 도움말 페이지의 "이 단원에 대한 피드백 제공" 링크를 사용하십시오.