목차 숨기기

단면도 PropertyManager(도면)

단면도 PropertyManager를 여는 방법

도면에서 단면도를 만든 다음, PropertyManager에서 스케치 편집을 클릭하거나 기존 단면도를 선택합니다.

절단선

PM_label.gif 방향 바꾸기 절단선을 더블 클릭하여 절단 방향을 바꿀 수도 있습니다.
PM_label.gif 라벨 단면도와 절단선 관련 문자를 수정합니다.
  글꼴 절단선 라벨의 글꼴을 문서 글꼴과 다른 글꼴로 사용하려면, 문서 글꼴을 선택 취소하고글꼴을 클릭합니다 절단선 라벨 글꼴을 변경하면, 단면도 라벨에 새 글꼴을 적용할 수 있습니다.

단면도

부분 절단 절단선을 전체 뷰에 적용하려면 그 선의 길이로 제한된 단면도를 작성합니다.
슬라이스 단면 절단선으로 자른 면만을 표시합니다.
  전체 단면도
drw_section_complete.gif
부분 단면도
drw_section_partial.gif
슬라이스 단면
drw_section_surface.gif
자동 해칭 해칭 패턴은 어셈블리의 부품 사이 또는 멀티바디 파트와 용접구조물의 바디 사이에 적용합니다. 어셈블리를 자를 때 해칭 패턴이 적용됩니다.
auto_hatch.gif
절단선 숄더 숨기기(H)
뷰 작성 시에만 사용 가능
축소 보기 foreshortened1.gif
뷰 작성 시에만 사용 가능

곡면 바디

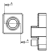
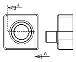
곡면 바디 표시 모델의 모체뷰에서 곡면 바디의 단면도를 표시합니다. 노트, 치수와 같은 주석을 곡면의 단면에 적용할 수 있습니다. 이 설정은 모든 세션에 걸쳐 유지됩니다.
surface_section_view.png
절단된 곡면 바디 단면도에서 표면 교차선만 표시합니다.

단면 깊이

단면도의 깊이를 지정한 거리까지 설정할 수 있습니다. 절단선이 단일 선분으로 구성된 단면에 대해서만 사용할 수 있습니다.

거리 단면도는 피처가 아닌 부품에 적용됩니다.
거리를 정하기 위해 다음 중 한 가지를 합니다.
  • 깊이 dim_lin_d.png 값을 설정합니다.
  • 깊이 참조 select_edge_faces_vertex.png의 모체뷰에서 모서리나 축 같은 지오메트리를 선택합니다.
  • 그래픽 영역의 분홍색 단면 평명을 끌어서 컷의 깊이를 정합니다. 절단선과 절단 평면 사이의 모든 부품이 단면 뷰에서 표시됩니다.
미리보기 section_view_distance.gif

주석 불러올 곳

주석 불러오기 주석 불러오기을(를) 선택하여 참조 파트나 어셈블리 문서에서 선택된 주석 유형 모두를 불러옵니다.
주석 불러오기 옵션을 선택합니다.
  • 설계 주석
  • DimXpert 주석
  • 숨겨진 피처에서 항목 포함

표시 상태

어셈블리에만 해당함. 어셈블리의 상태 표시를 선택해서 도면에 배치합니다.

숨기기/보이기 표시 상태가 모든 표시 유형에서 지원됩니다. 다른 표시 상태(표시 모드 , 색상 Appearances.gif 등)는 모서리 표시 음영 Tool_Shaded_With_Edges_View.png음영처리 모드 Tool_Shaded_View.png에서만 지원됩니다.

표시 유형

모체 유형 사용 모체뷰와 다른 품질 설정과 유형을 선택하려면, 이 확인란을 지웁니다.

표시 유형을 클릭합니다.

모델의 표시 품질을 고품질 또는 일반 품질로 선택합니다. 새 뷰의 품질 표시이(가) 일반 품질(으)로 설정되어 있는 경우에만 사용할 수 있습니다. 고품질을(를) 선택하는 경우 이 옵션이 다시 표시되지 않습니다.

축척

모체 배율 사용 모체 뷰에서 사용된 배율과 동일한 배율을 사용합니다. 모체 뷰의 배율을 변경하면, 그 뷰를 사용하는 모든 자손 뷰의 배율이 함께 업데이트됩니다.
시트 배율 사용 도면 시트에서 사용된 배율과 동일한 배율을 사용합니다.
사용자 정의 배율 사용 사용자가 지정한 배율을 사용합니다. 사용자 지정을 선택하면 다음 형식으로 아래 상자 안에 배율을 입력합니다. x:x 또는 x/x. 모델 텍스트 배율 사용을 선택해서 파트에서 주석 보기에 사용된 지오메트리를 유지합니다.
사용자 정의 배율 사용의 미리 설정된 옵션은 치수 규격에 따라 다를 수 있습니다.

치수 유형

도면 치수 유형:
True 실제 모델 치수.
투상도 2D 치수.

도면뷰를 삽입할 때, 치수 유형을 지정합니다. 도면뷰 PropertyManager에서 치수 유형을 보고 변경할 수 있습니다.

치수 유형 범례
  • SOLIDWORKS는 표준도와 사용자 정의 정사 투영도에는 투영 치수 유형 치수를 지정하고, 등각보기, 디메트릭 및 트리메트릭 뷰에는 실제 치수 유형 치수를 지정합니다.
  • 다른 뷰에서 투상도나 보조도를 작성하면, 원래 뷰가 실제 치수를 사용하더라도 새 뷰는 투영 치수를 사용합니다.

나사산 표시

여기서 지정하는 설정은 도면뷰에 나사산 표시가 있으면 도구옵션문서 속성 > 도면화 > > 나사산 표시 옵션 설정 대신 사용됩니다.

고 품질 나사산을 세밀한 선으로 표시합니다. 나사산 표시가 부분적으로 표시되면 고품질은(는) 보이는 부분만을 표시합니다(보이는 부분과 보이지 않는 부분 명확히 표시).
고품질 나사산 표시를 선택하면 작업 속도가 느려집니다. 작업 속도를 빠르게 하기 위해, 이 옵션을 선택하지 않고 주석을 모두 삽입하는 것이 좋습니다.
일반품질 나사산을 간단히 표시합니다. 나사산 표시가 부분적으로 표시되면, 일반 품질 옵션은 전체 피처를 표시합니다.

다음으로 뷰 저장

다음으로 뷰 저장을 확장하여 도면뷰를 Dxf 또는 Dwg 파일을 저장합니다. 원할 경우, 점 조정자 block_Base_Point.gif를 끌어 파일의 원점을 설정하고 뷰를 DXF/DWG로 저장 Tool_Save_As_Standard.gif을 클릭합니다. 다른 이름으로 저장 대화 상자에서 옵션을 설정합니다.
모델 지오메트리만 내보내기는 선택한 뷰와 연관된 다른 스케치 주석은 무시합니다.

기타 속성

도면뷰 속성을 참조하십시오.



이 도움말에 대한 피드백 제공

SOLIDWORKS는 도움말 정보의 개선을 위한 고객님의 제안 사항과 의견을 환영합니다. 제안하고자 하는 의견을 아래 양식에 작성하여 도움말 문서 팀에 직접 전달할 수 있습니다. 문서 팀은 제품에 관한 기술적인 지원은 하지 않습니다. 기술 지원에 관한 정보는 여기를 클릭하십시오.

* 필수 입력

 
*전자 메일:  
제목:   도움말에 대한 피드백
페이지:   단면도 PropertyManager(도면)
*사용자 의견:  
*   개인정보 보호정책을 읽었으며 본 정책에 따라 Dassault Systèmes에서 내 개인 정보를 사용하는 것에

인쇄 항목

인쇄할 콘텐츠 범위 선택:

x

Internet Explorer 7 이전 버전을 사용하고 있습니다. 페이지를 최적화하려면 사용 브라우저를 Internet Explorer 7 이상으로 업그레이드합니다.

 이 메시지를 다시 표시하지 않음
x

웹 도움말 콘텐츠 버전: SOLIDWORKS 2016 SP05

SOLIDWORKS에서 웹 도움말 기능을 비활성화하고 로컬 도움말을 사용하려면, 도움말 > SOLIDWORKS 웹 도움말 사용을 클릭합니다.

웹 도움말 인터페이스나 검색 기능에서 발생한 오류 사항을 보고하려면, 로컬 지원 서비스 담당자에게 문의하십시오. 개별 도움말 항목에 대한 피드백을 제공하려면, 각 도움말 페이지의 "이 단원에 대한 피드백 제공" 링크를 사용하십시오.