목차 숨기기

중심 표시에 대한 옵션 설정하기

중심 표시 옵션 설정하는 방법

  1. 옵션 Tool_Options_Standard.gif을 클릭하고 문서 속성 탭에서 중심선/중심 표시를 선택합니다.
  2. 중심 표시에서 다음을 수행합니다.
    1. 크기에 대한 값을 입력합니다. 크기는 모델 모서리로 연장되는 중심 표시의 길이와 중심점 기호의 크기를 제어합니다.
      cline_cmark_size.gif
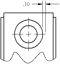
    2. 값을 입력합니다. 은 중심 표시와 치수 보조선 사이의 거리를 제어합니다. 보기 배율로 배율 조정의 선택을 취소하면 사용할 수 있습니다.

    3. 보기 배율로 배율 조정, 치수 보조선중심선 형식의 확인란을 선택하거나 선택 취소합니다.
  3. 홈 중심 표시에서 홈에 방향 맞추기 또는 시트에 방향 맞추기를 선택하고 홈 중심 표시 위치 옵션을 선택합니다. 이 설정으로 직선형 또는 커브형 홈이 작성되는 방법이 결정됩니다.
  4. 도면화 탭에서 문서 속성를 선택합니다. 뷰 작성 시 자동 삽입에서 다음에 대한 확인란을 선택하거나 선택을 취소합니다.
    • 중심 표시-구멍 -파트
    • 중심 표시-필렛 -파트
    • 중심 표시-홈 -파트
    • 중심 표시-구멍-어셈블리
    • 중심 표시-필렛-어셈블리
    • 중심 표시-홈-어셈블리
    이 확인란을 선택하면, 새로운 도면 뷰를 작성 할 때 원, 원호, 필렛에 중심 표시가 자동으로 삽입됩니다.
  5. 확인를 클릭합니다.


이 도움말에 대한 피드백 제공

SOLIDWORKS는 도움말 정보의 개선을 위한 고객님의 제안 사항과 의견을 환영합니다. 제안하고자 하는 의견을 아래 양식에 작성하여 도움말 문서 팀에 직접 전달할 수 있습니다. 문서 팀은 제품에 관한 기술적인 지원은 하지 않습니다. 기술 지원에 관한 정보는 여기를 클릭하십시오.

* 필수 입력

 
*전자 메일:  
제목:   도움말에 대한 피드백
페이지:   중심 표시에 대한 옵션 설정하기
*사용자 의견:  
*   개인정보 보호정책을 읽었으며 본 정책에 따라 Dassault Systèmes에서 내 개인 정보를 사용하는 것에

인쇄 항목

인쇄할 콘텐츠 범위 선택:

x

Internet Explorer 7 이전 버전을 사용하고 있습니다. 페이지를 최적화하려면 사용 브라우저를 Internet Explorer 7 이상으로 업그레이드합니다.

 이 메시지를 다시 표시하지 않음
x

웹 도움말 콘텐츠 버전: SOLIDWORKS 2016 SP05

SOLIDWORKS에서 웹 도움말 기능을 비활성화하고 로컬 도움말을 사용하려면, 도움말 > SOLIDWORKS 웹 도움말 사용을 클릭합니다.

웹 도움말 인터페이스나 검색 기능에서 발생한 오류 사항을 보고하려면, 로컬 지원 서비스 담당자에게 문의하십시오. 개별 도움말 항목에 대한 피드백을 제공하려면, 각 도움말 페이지의 "이 단원에 대한 피드백 제공" 링크를 사용하십시오.