中心マークのオプションの設定

中心マークのオプションを設定するには:

  1. オプション Tool_Options_Standard.gif をクリックし、ドキュメント プロパティ タブで 中心線/中心マーク を選択します。
  2. 中心マーク で:
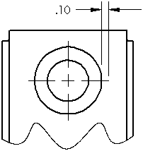
    1. サイズ の値を入力します。 サイズ は中心マークがモデル エッジを越えて表示される長さと中心の点記号のサイズを指定します。
      cline_cmark_size.gif
    2. 隙間(Gap)の値を入力します。 隙間(Gap)は中心マークと補助線の距離を制御します。 隙間(Gap)スケール(表示スケール基準)(Scale by view scale)が選択解除されると有効になります。

    3. スケール(表示スケール基準)(Scale by view scale)延長線中心線フォント(Centerline font)のチェックボックスを選択または選択解除します。
  3. スロット中心マーク で、スロット基準 または シート基準 を選択し、スロットの中心マークの位置を指定します。 この設定によって、スロットの直線状態/カーブ状態を指定します。
  4. ドキュメント プロパティ タブから 詳細設定 を選択します。 ビューの作成時に自動的に挿入 で、次のオプションを選択または選択解除します:
    • 中心マーク-穴 -部品
    • 中心マーク- フィレット- 部品
    • 中心マーク- スロット- 部品
    • 中心マーク- 穴- アセンブリ(Center marks - holes -assembly)
    • 中心マーク- フィレット- アセンブリ(Center marks - fillets -assembly)
    • 中心マーク- スロット- アセンブリ(Center marks - slots -assembly)
    選択しておくと、中心マークが新規図面の適切な円、円弧、フィレットに自動的に挿入されます。
  5. OK をクリックします。