水路设计 PropertyManager

水路设计 PropertyManager 设置用于创建冷却水路的设计参数,以调节模具型腔或浇道布局的温度,从而控制熔化后的塑料的流量。

要打开水路设计 PropertyManager:

  • 实体 PropertyManager 中,选择实体网格程序 > 浇道和冷却系统设计
冷却水路是位于模具实体内的一个通道,冷却介质(通常为水、蒸汽或油)将在其中形成循环回路。 冷却水路可调节模具的温度。 您将使用现有草图中的线条来指定冷却水路的布局。
通过创建草图来定义冷却水路布局,您可获得更准确的冷却分析结果(例如零件冷却时间以及冷却结束时的零件和模具温度)。

您可以为流道类型选择一个可用的标准截面,或者选择浇道向导,以帮助您定义单个或多个型腔模具布局的流道零部件的设计参数。

类型

冷却水路

综述

这是最常见的冷却水路设计。 通过在由线条元素连接的两个末端节点处输入直径来将其生成。

冷却水路布局的图解展示。

1: 输入节点,2: 输出节点

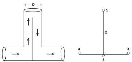
挡板

此类型的冷却水路通过为两个末端节点(其中底部节点连接到线条节点,顶部节点被隔离)输入一个直径来生成。

挡板冷却水路的图解展示。

1: 顶部节点,2: 挡板,3: 底部节点,以及 4: 水路元素

鼓泡器

此类型的冷却水路通过为两个末端节点输入两个直径(管筒横截面)来生成。 底部节点连接到线条元素,顶部节点被隔离。

鼓泡器冷却水路的图解展示。

1: 顶部节点,2: 鼓泡器,3: 底部节点,以及 4: 水路元素

流道
为流道布局选择一个标准截面。
正方形
半圆
矩形(R)
梯形
椭圆
流道向导 打开水路设计向导,其可自动化创建常见流量控制装置和零部件(例如直浇口、浇道和浇口)的过程。
反转尺寸 反转已选流道的尺寸。

参数

设计变量 设置流道设计变量的尺寸。
旋转角度 设置冷却水路或浇道的旋转角度。
单元数 设置用于网格化冷却水路或浇道零部件的元素数量。
应用 应用当前设计参数。
删除 移除当前设计参数。
浇注位置位于直浇口零部件的顶部。