Exemplos: Vista de seção com offset

Este exemplos mostram a adição de offsets a uma linha de corte.

Offset do arco

  1. Localize uma linha de corte horizontal Cutting-line-Horizontal.png.
    section-arc-offset-1.gif
  2. Adicione um offset de arco sectionxpert-arc-offset.png.
    section-arc-offset-2.gif section-arc-offset-3.gif

    Primeiro ponto na linha de corte para iniciar o offset de arco

    Segundo ponto na geometria para definir o ângulo do offset

  3. Vista de seção final
    section-arc-offset-complete.gif

Offset simples

  1. Localize uma linha de corte vertical Cutting-line-Vertical.png.
    section-single-offset-1-U.gif
  2. Adicione um offset único sectionxpert-single-offset.png.
    section-single-offset-2-U.gif section-single-offset-3-U.gif

    Primeiro ponto na linha de corte para iniciar o offset único

    Segundo ponto na geometria para definir a profundidade do offset

  3. Vista de seção final
    section-single-offset-complete-U.gif

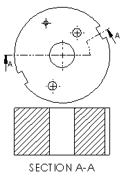
Offset do entalhe

  1. Localize uma linha de corte horizontal Cutting-line-Horizontal.png.
    section-notch-offset-1.gif
  2. Adicione um offset de entalho sectionxpert-notch-offset.png.
    section-notch-offset-2.gif section-notch-offset-3.gif

    Primeiro ponto na linha de corte para iniciar o offset de entalho

    Segundo ponto na linha de corte para definir a extensão do offset.

    section-notch-offset-4.gif  

    Terceiro ponto na geometria para definir a profundidade do offset

     
  3. Vista de seção final
    section-notch-offset-complete.gif