Expand はじめにはじめに
Expand 管理管理
Expand ユーザー インタフェースユーザー インタフェース
Expand SolidWorks の基礎SolidWorks の基礎
Expand 2D から 3D へ移行2D から 3D へ移行
Expand アセンブリアセンブリ
Expand CircuitWorksCircuitWorks
Expand コンフィギュレーションコンフィギュレーション
Expand CostingCosting
Expand Design CheckerDesign Checker
Expand SolidWorksにおけるデザイン スタディSolidWorksにおけるデザイン スタディ
Collapse 図面および詳細設定図面および詳細設定
Expand 詳細設定の概要詳細設定の概要
Collapse アノテート アイテムアノテート アイテム
Expand テーブルテーブル
Expand 部品表部品表
Expand テーブルの列と行テーブルの列と行
記号文字を部品表またはテーブル セルに追加
テーブルの展開
Expand テーブルの関係式テーブルの関係式
Expand 設計規格設計規格
Expand 印刷設定印刷設定
Expand 図面図面
Expand DFMXpressDFMXpress
Expand DriveWorksXpressDriveWorksXpress
Expand FloXpressFloXpress
Expand インポート/エクスポートインポート/エクスポート
Expand ラージ スケール デザインラージ スケール デザイン
Expand モデル表示モデル表示
Expand モールド設計モールド設計
Expand モーション スタディモーション スタディ
Expand 部品とフィーチャー部品とフィーチャー
Expand ルーティングルーティング
Expand 板金板金
Expand SimulationSimulation
Expand SimulationXpressSimulationXpress
Expand スケッチスケッチ
Expand Sustainability 製品Sustainability 製品
Expand SolidWorks UtilitiesSolidWorks Utilities
Expand 公差公差
Expand ToolboxToolbox
Expand 溶接溶接
Expand Workgroup PDMWorkgroup PDM
Expand トラブルシューティングトラブルシューティング
Expand 用語集用語集
目次を表示しない

中心マークのオプションの設定

中心マークのオプションを設定するには:

  1. オプション(Options)Tool_Options_Standard.gifをクリックし、中心線/中心マーク(Centerlines/Center Marks)をドキュメント プロパティ(Document Properties)タブで選択します。
  2. 中心マーク(Center Marks)で:
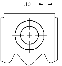
    1. サイズ(Size)の値を入力します。 サイズ(Size)は、中心マークがモデル エッジを越えて表示される長さと中心の点記号のサイズを指定します。
      cline_cmark_size.gif
    2. 延長線(Extended lines)と中心線フォント(Centerline font)を選択/選択解除します。
  3. スロット中心マーク(Slot center marks)でスロット基準(Orient to slot)またはシート基準(Orient to sheet)を選択し、スロットの中心マークの位置を指定します。 この設定によって、スロットの直線状態/カーブ状態を指定します。
  4. 詳細設定(Detailing)をドキュメント プロパティ(Document Properties)タブで選択します。 ビューの作成時に自動的に挿入(Auto insert on view creation)で、次のオプションを選択または選択解除します。
    • 中心マーク-穴 -部品
    • 中心マーク- フィレット- 部品
    • 中心マーク- スロット- 部品
    • 中心マーク- 穴- アセンブリ(Center marks - holes -assembly)
    • 中心マーク- フィレット- アセンブリ(Center marks - fillets -assembly)
    • 中心マーク- スロット- アセンブリ(Center marks - slots -assembly)

    選択しておくと、中心マークが新規図面の適切な円、円弧、フィレットに自動的に挿入されます。

  5. OK をクリックします。


トピックについてフィードバックを送信

ヘルプに関してフィードバックを送信することができます。しかし、ドキュメンテーション グループはテクニカル サポートに関する質問に答えることはできません。 テクニカル サポートに関する情報はここをクリックしてください

* 必要項目

 
*電子メール:  
件名:   トピックのフィードバック
ページ:   中心マークのオプションの設定
*コメント:  
*   プライバシー ポリシーを読み、個人情報が Dassault Systèmes によって使用されることに同意します。

トピックの印刷

印刷するコンテンツの範囲を選択:

x

Internet Explorer 7 より古いブラウザ バージョンが検知されました。 表示を最適化するにはInternet Explorer 7 以上のブラウザ バージョンにアップグレードしてください。

 今後このメッセージを表示しない
x

Web ヘルプ コンテンツ バージョン: SOLIDWORKS 2012 SP05

SOLIDWORKS で Web ヘルプを無効にして、ローカル ヘルプを使用するには、ヘルプ > SOLIDWORKS Web ヘルプ使用 をクリックしてください。

Web ヘルプのインタフェースや検索機能に関する問題は、お客様のサポート担当者までご連絡ください。各トピック ページの「トピックについてフィードバックする」リンクを使用し、各ヘルプ トピックについてフィードバックを送信することもできます。