Hide Table of Contents

2D Drafting Overview

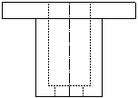
This overview lists typical 2D drafting tasks and applicable SolidWorks solutions. The tasks and solutions show how to create the following drawing.



See how to create this drawing from a 3D model.

Detailing and annotation tools are not used in this overview. For a step-by-step tutorial that highlights the SolidWorks detailing and annotation tools, see the Advanced Drawings tutorial by clicking Help > SolidWorks Tutorials > All SolidWorks Tutorials.

Task Categories

Creating a front View

Tasks Solutions
Create the horizontal edges of the drawing view. Sketch the bottom horizontal line with the Line tool and use the Offset Entities tool to create additional edges.

Create the vertical edges of the drawing view. Sketch a symmetry line with the Centerline

tool and use the Offset Entities tool to offset the centerline bi-directionally.

Delete excess sketch entities. Use the Trim Entities
tool with the corner and power trim options.
Change line styles to indicate hidden holes. Use the Line Style tool to change lines from solid to dashed.
Return to task categories

Creating a top view by projecting a front view

Before (front view) After (front and top views)
Tasks Solutions
Align the top view with the front view. Sketch vertical infinite lines as projection lines with the Line tool.

Video: Sketching Verticle Infinite Lines as Projection Lines



Create the horizontal edges of the drawing view. Sketch a horizontal symmetry line with the Centerline tool to define the middle of the drawing view. Offset the centerline with the Offset Entities tool to create additional edges of the drawing view.

Delete excess sketch entities. Use the Trim Entities tool with the trim away outside, corner, and power trim options.
Trim away outside Corner
Power trim

Video: Trimming Away Outside Entities

Create a hole in the center of the drawing. Use the Circle and Midpoint Snap tools to create a hole that snaps to the center of the drawing.

Video: Sketching a Circle that Snaps to the Center of the Drawing

Midpoint snap
Circle
Delete excess lines. Hold down Ctrl to select multiple lines and press Delete.

Change line styles to indicate hidden holes. Use the Line Style tool to change lines from solid to dashed.

Return to task categories

Creating a right view by projecting a front and top view

Before (front and top views) After (front, top, and right views)
Tasks Solutions
Align the right view with the front and top views. Use horizontal infinite lines as projection lines.

Create the vertical edges of the drawing view. Rotate the projection lines (from the top view) -90° with the Rotate Entities tool.

Video: Rotating Entities



Delete excess sketch entities. Use the Trim Entities tool with the trim away outside, power trim, and corner options.
Trim away outside Power trim Corner
Change line styles to indicate hidden holes. Use the Line Style tool to change lines from solid to dashed.
Return to task categories

Adding a slot to the top view

Before (top view) After (top view)
Tasks Solutions
Center the slot in the view. Use the Centerline tool to create horizontal and vertical construction lines.

Create the horizontal edges of the slot. Use the Offset Entities tool to offset the centerlines.

Delete excess sketch entities. Use the Trim Entities tool with the power trim option.

Create an arc to enclose the slot. Use the Tangent Arc tool.

Delete excess sketch entities. Use the Trim Entities tool with the power trim option.

Create a symmetric slot on the opposite side of the drawing view. Delete the vertical edge of the opposite side of the drawing view (to create a space for the slot), then use the Mirror Entities tool to mirror the slot.

Video: Mirroring Entities



Return to task categories

Projecting the slot to the front and right views

Before (front, top, and right views)
After (front, top, and right views)
Tasks Solutions
Align the slot from the top view with the front view. Use vertical infinite lines as projection lines.

Change line styles to indicate hidden slots. Use the Line Style tool to change lines from solid to dashed.

Delete excess sketch entities. Use the Trim Entities tool with the power trim option.

Align the slot from the top view with the right view. Sketch horizontal infinite lines as projection lines, then rotate the lines -90° with the Rotate Entities tool.

Video: Rotating Projection Lines

Delete excess sketch entities. Use the Trim Entities tool with the power trim option.

Return to task categories

Creating a section view from the front view

Before (front view) After (section view)
Tasks Solutions
Delete the extra line in the drawing view to create a cross-section. Use the Trim Entities tool with the power trim option.

Change line styles so that hidden holes and slots are shown. Use the Line Style tool to change lines from solid to dashed.

Create a hatch pattern to indicate solid areas of the drawing view. Use the Area HatchFill tool to apply crosshatch sections.

Video: Applying Crosshatch Sections



Return to task categories

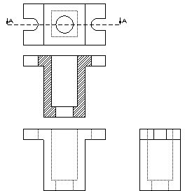
Create a Drawing from a 3D Model

With a 3D model, you can create the same drawing in two steps.



Tasks Solutions
Create front, top, and right views. In a new drawing sheet, with the Drawing Toolbar displayed, select Standard 3 View and browse for the part document in the Standard 3 View PropertyManager.
Create a section view. In the drawing document, use the Section View tool to create a section view from the top view. Cross-hatching is automatically applied to section views.


Provide feedback on this topic

SOLIDWORKS welcomes your feedback concerning the presentation, accuracy, and thoroughness of the documentation. Use the form below to send your comments and suggestions about this topic directly to our documentation team. The documentation team cannot answer technical support questions. Click here for information about technical support.

* Required

 
*Email:  
Subject:   Feedback on Help Topics
Page:   2D Drafting Overview
*Comment:  
*   I acknowledge I have read and I hereby accept the privacy policy under which my Personal Data will be used by Dassault Systèmes

Print Topic

Select the scope of content to print:

x

We have detected you are using a browser version older than Internet Explorer 7. For optimized display, we suggest upgrading your browser to Internet Explorer 7 or newer.

 Never show this message again
x

Web Help Content Version: SOLIDWORKS 2014 SP05

To disable Web help from within SOLIDWORKS and use local help instead, click Help > Use SOLIDWORKS Web Help.

To report problems encountered with the Web help interface and search, contact your local support representative. To provide feedback on individual help topics, use the “Feedback on this topic” link on the individual topic page.