Expand EinführungEinführung
Expand VerwaltungVerwaltung
Expand BenutzeroberflächeBenutzeroberfläche
Collapse Grundlagen von SOLIDWORKSGrundlagen von SOLIDWORKS
Grundkonzepte
Grundlegende Befehle: Ausschneiden, Kopieren, Einfügen, Rückgängig und Wiederherstellen
Expand Hilfe, Suchen und WebressourcenHilfe, Suchen und Webressourcen
Expand Grundlagen zu DokumentenGrundlagen zu Dokumenten
Collapse Übersicht über SOLIDWORKS OptionenÜbersicht über SOLIDWORKS Optionen
Expand AnzeigenAnzeigen
Expand AuswahlAuswahl
Expand DateieigenschaftenDateieigenschaften
Expand Messen-WerkzeugMessen-Werkzeug
Expand SensorenSensoren
Expand GleichungenGleichungen
Expand Branchenspezifische KonstruktionswerkzeugeBranchenspezifische Konstruktionswerkzeuge
Xperts Übersicht
Zusatzanwendungen
Expand SOLIDWORKS SchnellstartSOLIDWORKS Schnellstart
Expand Verknüpfen und Einbetten von ObjektenVerknüpfen und Einbetten von Objekten
Expand Aufzeichnen und Ausführen von MakrosAufzeichnen und Ausführen von Makros
Expand  Komponenten späterer Versionen in früheren Versionen Komponenten späterer Versionen in früheren Versionen
SOLIDWORKS API
SOLIDWORKS Taskplaner
SOLIDWORKS Info
Expand Umsteigen von 2D auf 3DUmsteigen von 2D auf 3D
Expand BaugruppenBaugruppen
Expand CircuitWorksCircuitWorks
Expand KonfigurationenKonfigurationen
Expand SOLIDWORKS CostingSOLIDWORKS Costing
Expand Design CheckerDesign Checker
Expand Konstruktionsstudien in SOLIDWORKSKonstruktionsstudien in SOLIDWORKS
Expand Detaillierung und ZeichnungenDetaillierung und Zeichnungen
Expand DFMXpressDFMXpress
Expand DriveWorksXpressDriveWorksXpress
Expand FloXpressFloXpress
Expand SLDXML-DatenaustauschSLDXML-Datenaustausch
Expand Importieren und ExportierenImportieren und Exportieren
Expand ModellanzeigeModellanzeige
Expand GussformkonstruktionGussformkonstruktion
Expand BewegungsstudienBewegungsstudien
Expand Teile und FeaturesTeile und Features
Expand LeitungsführungLeitungsführung
Expand BlechBlech
Expand SimulationSimulation
Expand SimulationXpressSimulationXpress
Expand SkizzierenSkizzieren
Expand Sustainability ProdukteSustainability Produkte
Expand SOLIDWORKS MBDSOLIDWORKS MBD
Expand SOLIDWORKS UtilitiesSOLIDWORKS Utilities
Expand ToleranzenToleranzen
Expand TolAnalystTolAnalyst
Expand ToolboxToolbox
Expand SchweißkonstruktionenSchweißkonstruktionen
Expand Workgroup PDMWorkgroup PDM
Expand ProblembehebungProblembehebung
Glossar
Inhaltsverzeichnis ausblenden

Dokumenteigenschaften - Stücklistensymbole

Sie können für Stücklistensymbole Zeichnungseinstellungen auf Dokumentebene festlegen. Sie können diese Einstellungen im PropertyManager außer Kraft setzen. Für alle Dokumenttypen verfügbar.

So öffnen Sie diese Seite:

Klicken Sie in einer geöffneten Zeichnung auf Optionen (Standard-Symbolleiste), wählen Sie die Registerkarte Dokumenteigenschaften und anschließend Beschriftungen > Stücklistensymbole aus.

Globale Zeichnungsnorm

Globale Zeichnungsnorm Wird von den auf der Seite Entwurfsnorm ausgewählten Einstellungen übernommen.

Stücklistensymbol-Basisnorm

Stücklistensymbol-Basisnorm
Wählen Sie eine der folgenden Normen aus:
  • ANSI
  • ISO
  • DIN
  • JIS
  • BSI
  • GOST
  • GB

Art der Hinweislinie

Art der Hinweislinie Wählen Sie: einen Stil.
Dicke der Hinweislinie Wählen Sie: eine Dicke, oder klicken Sie auf Benutzerdefinierte Größe, und geben Sie eine Dicke ein.

Frame-Stil

Frame-Stil Bestimmt den Stil für die Form, die den Text umgibt.
Frame-Dicke Wählen Sie: eine Dicke, oder klicken Sie auf Benutzerdefinierte Größe, und geben Sie eine Dicke ein.

Text

Schriftart

Klicken Sie auf diese Schaltfläche, um die Schriftart zu ändern.

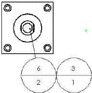
Oben Wählen Sie für den oberen Bereich von Stücklistensymbolen des Typs Kreisförmige Trennlinie oder alle anderen Stücklistensymboltypen Folgendes aus:
  • Text
  • Artikelnummer
  • Menge
  • Benutzerdefinierte Eigenschaften
Oben gilt für einzelne und geschichtete Stücklistensymbole.
Unten Wählen Sie für den unteren Bereich von Stücklistensymbolen des Typs Kreisförmige Trennlinie Folgendes aus:
  • Text
  • Artikelnummer
  • Menge
  • Benutzerdefinierte Eigenschaften

Hinweislinienanzeige

Hinweislinienanzeige Wählen Sie zwischen:
  • Gerade
  • Geknickt Fügt eine horizontale Biegung in die Hinweislinie ein, die mit auf den Text ausgerichtet ist. Wählen Sie eine der folgenden Optionen:
    • Hinweislinienlänge des Dokuments verwenden Leitet die Länge der Hinweislinie von den Einstellungen der Seite Beschriftungen ab.
    • Länge der Hinweislinie. Ermöglicht die Eingabe der Länge des nicht geknickten Teils der Hinweislinie.

Layer

Layer
Wählen Sie einen Layer aus.
Sie müssen zunächst Layers für die Zeichnung erstellen, bevor Sie sie für Dokumenteigenschaften auswählen können.
Damit diese Layer-Einstellungen angewendet werden, müssen Sie im Zeichenansichtendokument Per Norm für Layer (Layer-Symbolleiste) auswählen.

Einzelnes Stücklistensymbol

Stil Wählen Sie Keiner aus, um den Stücklistensymboltext ohne Rand anzuzeigen, oder wählen Sie eine Stücklistensymbolform aus. Der Standard ist Rund.
Kreisförmig Dreiecksprofil
Sechseck Box
Raute Fünfeck
Kreisförmige Trennlinie Fahne - Fünfseitig
Fahne - Dreieck Unterstrichen
Quadrat Quadratischer Kreis
Prüfen Kein
Größe Wählen Sie eine Größe aus der Liste aus (eine bestimmte Anzahl von Zeichen): Standard (passt sich automatisch an den Text an) oder Benutzergröße (Sie definieren die Stücklisten-Symbolgröße).

Geschichtete Stücklistensymbole

Stil Wählen Sie eine Stücklistensymbolform aus.
Größe

Wählen Sie eine Größe aus der Liste aus (eine bestimmte Anzahl von Zeichen): Standard (passt sich automatisch an den Text an) oder Benutzergröße (Sie definieren die Stücklisten-Symbolgröße).

Layout autom. Stücklistensymbol

Wählen Sie ein Layout aus:
  • Schaltfläche balloon_auto_square.pngQuadrat
  • Schaltfläche balloon_auto_bottom.pngUnten
  • Schaltfläche balloon_auto_left.pngLinks
  • Schaltfläche balloon_auto_circular.pngKreisförmig
  • Schaltfläche balloon_auto_top.pngOben
  • Schaltfläche balloon_auto_right.pngRechts
Quadratisches Layout


Feedback zu diesem Thema geben

SOLIDWORKS ist dankbar für Ihr Feedback zur Präsentation, Genauigkeit und Vollständigkeit der Dokumentation. Verwenden Sie das nachstehende Formular, um Ihre Kommentare und Vorschläge zu diesem Thema direkt an unser Dokumentations-Team zu senden. Das Dokumentations-Team kann keine Fragen für den technischen Support beantworten. Klicken Sie hier für Informationen zum technischen Support.

* Erforderlich

 
*E-Mail:  
Betreff:   Feedback zu Hilfethemen
Seite:   Dokumenteigenschaften - Stücklistensymbole
*Kommentar:  
*   Ich bestätige, dass ich die Datenschutzerklärung, unter der meine personenbezogenen Daten durch Dassault Systèmes verarbeitet werden, gelesen habe und akzeptiere.

Thema drucken

Wählen Sie aus, was gedruckt werden soll:

x

Sie verwenden einen Browser, der älter als Internet Explorer 7 ist. Für eine optimierte Anzeige sollten Sie Ihren Browser auf Internet Explorer 7 oder höher aktualisieren.

 Diese Meldung nicht mehr anzeigen
x

Web-Hilfe Inhaltsversion: SOLIDWORKS 2015 SP05

Um die Web-Hilfe in SOLIDWORKS zu deaktivieren und stattdessen die lokale Hilfe zu verwenden, klicken Sie auf Help > SOLIDWORKS Web-Hilfe verwenden.

Um Probleme mit der Oberfläche und der Suche der Web-Hilfe zu melden, wenden Sie sich an Ihren Support vor Ort. Um Feedback zu einzelnen Hilfethemen zu geben, verwenden Sie den Link “Feedback zu diesem Thema” auf der entsprechenden Themenseite.