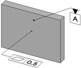
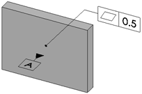
DimXpert Bezug Mit dem DimXpert Werkzeug Bezug können Sie Bezugs-Features definieren. So greifen Sie auf dieses Werkzeug zu: Klicken Sie auf Bezug (MBD Dimension Symbolleiste) oder Extras > MBD Dimension > Bezug. Unterstützt werden die folgenden Feature-Arten: Ansatz Zylinder Aussparung Ebene Einfache Bohrung Schlitz Breite Die meisten Optionen im DimXpert PropertyManager Bezugssymbol entsprechen den Optionen im normalen PropertyManager Bezugssymbol. Die Unterschiede werden im Folgenden aufgelistet. Etiketten-Einstellungen Geben Sie beim Anwenden oder Bearbeiten eines Bezugs ein Bezugsetikett ein, und weisen Sie einen Hinweislinientyp zu. Legen Sie die Startbeschriftung unter Extras > Optionen > Dokumenteigenschaften > Entwurfsnorm > Beschriftungen > Bezüge fest. Bei der Eingabe von Bezugsetiketten werden die Eingabewerte nach dem aktiven Zeichnungsstandard auf korrekte Syntax geprüft. Beispiel: Bei der Eingabe einer Zahl wird bei allen Standards eine Warnmeldung erzeugt. Bei der Eingabe von I, O oder Q wird bei ANSI eine Warnmeldung erzeugt. Bei der Eingabe von AA wird bei ISO eine Warnmeldung erzeugt. Hinweislinie Oberfläche Fügt das Bezugsdreieck an die Oberfläche eines Features an. Gerichtete Hinweislinie Fügt das Bezugsdreieck an eine gerichtete Hinweislinie an. Geometrieparameter Fügt das Bezugsdreieck an eine Bemaßung oder einen Feature-Kontrollrahmen an. Form- und Lagetoleranzen Fügt das Bezugsdreieck an einen Feature-Kontrollrahmen an. Bezugsbeispiele nach Feature-Art Ansatz Zylinder Aussparung Ebene Einfache Bohrung Schlitz Breite Übergeordnetes ThemaDimXpert Werkzeuge PropertyManager „Bezugssymbol“ Anwenden eines Bezugssymbols Anwenden eines Bezugssymbols: Klicken Sie auf Bezug (MBD Dimension Symbolleiste) oder Extras > MBD Dimension > Bezug. Wählen Sie die Fläche des Bezugs-Features aus, und klicken Sie in den Grafikbereich, um das Bezugssymbol zu platzieren. Wenn die ausgewählte Fläche zur Definition von mehreren Feature-Arten verwendet werden kann, wählen Sie mit der Feature-Auswahl das gewünschte Feature aus. Klicken Sie auf .
DimXpert Bezug Mit dem DimXpert Werkzeug Bezug können Sie Bezugs-Features definieren. So greifen Sie auf dieses Werkzeug zu: Klicken Sie auf Bezug (MBD Dimension Symbolleiste) oder Extras > MBD Dimension > Bezug. Unterstützt werden die folgenden Feature-Arten: Ansatz Zylinder Aussparung Ebene Einfache Bohrung Schlitz Breite Die meisten Optionen im DimXpert PropertyManager Bezugssymbol entsprechen den Optionen im normalen PropertyManager Bezugssymbol. Die Unterschiede werden im Folgenden aufgelistet. Etiketten-Einstellungen Geben Sie beim Anwenden oder Bearbeiten eines Bezugs ein Bezugsetikett ein, und weisen Sie einen Hinweislinientyp zu. Legen Sie die Startbeschriftung unter Extras > Optionen > Dokumenteigenschaften > Entwurfsnorm > Beschriftungen > Bezüge fest. Bei der Eingabe von Bezugsetiketten werden die Eingabewerte nach dem aktiven Zeichnungsstandard auf korrekte Syntax geprüft. Beispiel: Bei der Eingabe einer Zahl wird bei allen Standards eine Warnmeldung erzeugt. Bei der Eingabe von I, O oder Q wird bei ANSI eine Warnmeldung erzeugt. Bei der Eingabe von AA wird bei ISO eine Warnmeldung erzeugt. Hinweislinie Oberfläche Fügt das Bezugsdreieck an die Oberfläche eines Features an. Gerichtete Hinweislinie Fügt das Bezugsdreieck an eine gerichtete Hinweislinie an. Geometrieparameter Fügt das Bezugsdreieck an eine Bemaßung oder einen Feature-Kontrollrahmen an. Form- und Lagetoleranzen Fügt das Bezugsdreieck an einen Feature-Kontrollrahmen an. Bezugsbeispiele nach Feature-Art Ansatz Zylinder Aussparung Ebene Einfache Bohrung Schlitz Breite Übergeordnetes ThemaDimXpert Werkzeuge PropertyManager „Bezugssymbol“ Anwenden eines Bezugssymbols Anwenden eines Bezugssymbols: Klicken Sie auf Bezug (MBD Dimension Symbolleiste) oder Extras > MBD Dimension > Bezug. Wählen Sie die Fläche des Bezugs-Features aus, und klicken Sie in den Grafikbereich, um das Bezugssymbol zu platzieren. Wenn die ausgewählte Fläche zur Definition von mehreren Feature-Arten verwendet werden kann, wählen Sie mit der Feature-Auswahl das gewünschte Feature aus. Klicken Sie auf .
Anwenden eines Bezugssymbols Anwenden eines Bezugssymbols: Klicken Sie auf Bezug (MBD Dimension Symbolleiste) oder Extras > MBD Dimension > Bezug. Wählen Sie die Fläche des Bezugs-Features aus, und klicken Sie in den Grafikbereich, um das Bezugssymbol zu platzieren. Wenn die ausgewählte Fläche zur Definition von mehreren Feature-Arten verwendet werden kann, wählen Sie mit der Feature-Auswahl das gewünschte Feature aus. Klicken Sie auf .