Expand はじめにはじめに
Expand 管理管理
Expand ユーザー インターフェースユーザー インターフェース
Expand SolidWorks の基礎 SolidWorks の基礎
Expand 2D から 3D へ移行2D から 3D へ移行
Expand アセンブリアセンブリ
Expand CircuitWorksCircuitWorks
Expand コンフィギュレーションコンフィギュレーション
Expand CostingCosting
Expand Design CheckerDesign Checker
Expand SolidWorksにおけるデザイン スタディSolidWorksにおけるデザイン スタディ
Collapse 詳細設定と図面詳細設定と図面
Expand DFMXpressDFMXpress
Expand DriveWorksXpressDriveWorksXpress
Expand FloXpressFloXpress
Expand インポート/エクスポートインポート/エクスポート
Expand モデル表示モデル表示
Expand モールド設計モールド設計
Expand モーション スタディモーション スタディ
Expand 部品とフィーチャー 部品とフィーチャー
Expand ルーティングルーティング
Expand 板金板金
Expand SimulationSimulation
Expand SimulationXpressSimulationXpress
Expand スケッチングスケッチング
Expand Sustainability 製品Sustainability 製品
Expand SolidWorks UtilitiesSolidWorks Utilities
Expand 公差公差
Expand TolAnalystTolAnalyst
Expand ToolboxToolbox
Expand 溶接溶接
Expand Workgroup PDMWorkgroup PDM
Expand トラブルシューティングトラブルシューティング
用語集
目次を表示しない

寸法 PropertyManager(Dimension PropertyManager)

図面でスマートまたは、DimXpert の寸法付けを可能にします。

援助寸法ツール(Dimension Assist Tools)

PM_smart_dimensioning.gif スマート寸法 スマート寸法 (Smart Dimension) Tool_Smart_Dimensions_Relations.gif ツールで寸法を作成できます。
PM_dimxpert_rapid_dim_manip.gif ラピッド寸法 ラピッド寸法マニピュレータの使用を選択/選択解除します。使用する場合は選択/使用しない場合は選択解除します。この設定は、セッションをまたいで維持されます。
PM_dimXpert.gif DimXpert マニュファクチャリング フィーチャー(パターン、スロット、ポケット、フィレットなど)に完全定義の寸法を適用し、寸法を配置します。

スタイル

スタイル

パターン スキーム(Pattern Scheme)

パターンに選択した寸法スキームを適用します。

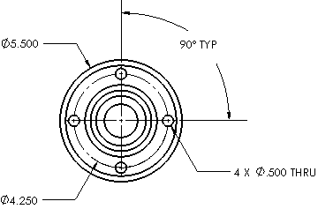
PM_polar_dimensioning.gif 極寸法 (Polar dimensions) 吹き出しと角度位置を定めている寸法から成り立っているスキームを作成しまします。直径寸法、半径寸法、角度寸法が作成されます。
dimxpert_polar.gif
PM_linear_dimensioning.gif 直線寸法 (Linear dimensioning) パターンの直線寸法を作成します。
極寸法、そして直線寸法のためのインスタンス数が SolidWorks ソフトウェアで作成されたパターンのみでサポートされています。

寸法のスキーム(Dimensioning Scheme)

選択した寸法スキーム、基準線寸法 (Baseline) PM_baseline_dimensioning.gif または累進 (Chain) PM_chain_dimensioning.gif を、マニュファクチャリング フィーチャー、配置された寸法に適用します。

データム

頂点/穴の中心指定 グラフィックス領域で選択したエンティティからマニュファクチャリング フィーチャーと配置された寸法までを測ります。頂点は、円の中心点または頂点を選択できます。
選択指定 仮想線(virtual sharp)を作ることによって、選択するXYエッジからマニュファクチャリング フィーチャーと配置された寸法までを測ります。原点を回転させるために、ドラッグすることができます。または回転(Rotation)角度を設定できます。もし、XY エッジが交差するなら、頂点指定 (By Vertex) オプションを使わなければなりません。

レイヤー PM_Layer.gif

名前が指定されたレイヤーを持つ図面で、レイヤーを選択します。



トピックについてフィードバックを送信

ヘルプに関してフィードバックを送信することができます。しかし、ドキュメンテーション グループはテクニカル サポートに関する質問に答えることはできません。 テクニカル サポートに関する情報はここをクリックしてください

* 必要項目

 
*電子メール:  
件名:   トピックのフィードバック
ページ:   寸法 PropertyManager(Dimension PropertyManager)
*コメント:  
*   プライバシー ポリシーを読み、個人情報が Dassault Systèmes によって使用されることに同意します。

トピックの印刷

印刷するコンテンツの範囲を選択:

x

Internet Explorer 7 より古いブラウザ バージョンが検知されました。 表示を最適化するにはInternet Explorer 7 以上のブラウザ バージョンにアップグレードしてください。

 今後このメッセージを表示しない
x

Web ヘルプ コンテンツ バージョン: SOLIDWORKS 2013 SP05

SOLIDWORKS で Web ヘルプを無効にして、ローカル ヘルプを使用するには、ヘルプ > SOLIDWORKS Web ヘルプ使用 をクリックしてください。

Web ヘルプのインタフェースや検索機能に関する問題は、お客様のサポート担当者までご連絡ください。各トピック ページの「トピックについてフィードバックする」リンクを使用し、各ヘルプ トピックについてフィードバックを送信することもできます。