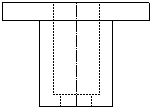
Vue d'ensemble de l'esquisse 2D Cette vue d'ensemble présente les tâches courantes en matière d'esquisse 2D, ainsi que les solutions SOLIDWORKS qui vous aident à les exécuter. Elle a pour but de vous montrer comment créer la mise en plan suivante. Voir comment créer cette mise en plan à partir d'un modèle 3D. Les outils d'habillage et d'annotation ne sont pas utilisés dans cette vue d'ensemble. Reportez-vous au tutoriel Techniques avancées de mise en plan pour une présentation étape par étape des outils d'habillage et d'annotation de SOLIDWORKS. Vous y accédez en cliquant sur > Tutoriels > Tous les tutoriels SOLIDWORKS . Catégories de tâches Créer une vue de face. Créer une vue de dessus en projetant une vue de face. Créer une vue de droite en projetant une vue de face et de dessus. Ajouter une encoche à la vue de dessus. Projeter l'encoche sur les vues de face et de droite. Créer une vue en coupe à partir de la vue de face. Créer une vue de face Tâches Solutions Créer les arêtes horizontales de la vue de mise en plan. Esquissez la ligne horizontale du bas avec Ligne , puis utilisez Décaler les entités pour créer des arêtes supplémentaires. Créer les arêtes verticales de la vue de mise en plan. Esquissez une ligne de symétrie avec Ligne de construction et utilisez Décaler les entités pour décaler la ligne de construction de manière bidirectionnelle. Supprimer l'excédent d'entités d'esquisse. Utilisez Ajuster les entités avec les options coin et ajustement intelligent. Coin Ajustement intelligent: méthode cliquer-cliquer Vidéo: Ajustement de coins avec Ajuster les entités Vidéo: Utilisation de la méthode cliquer-cliquer d'Ajustement intelligent Ajustement intelligent: méthode glisser Vidéo: Utilisation de la méthode de glissement d'Ajuster les entités Modifier le style des lignes pour indiquer les perçages cachés. Utilisez Style de ligne pour changer les lignes continues en lignes en pointillé. Retourner aux catégories de tâches Créer une vue de dessus par projection d'une vue de face Avant (vue de face) Après (vues de face et de dessus) Tâches Solutions Aligner la vue de dessus sur la vue de face. Esquissez des lignes infinies verticales comme lignes de projection avec Ligne . Vidéo: Esquisse de lignes infinies verticales comme lignes de projection Créer les arêtes horizontales de la vue de mise en plan. Esquissez une ligne de symétrie horizontale avec Ligne de construction pour définir le milieu de la vue de mise en plan. Décalez la ligne de construction avec Décaler les entités pour créer des arêtes supplémentaires de la vue de mise en plan. Supprimer l'excédent d'entités d'esquisse. Utilisez Ajuster les entités avec les options ajuster l'extérieur, coin et ajustement intelligent. Ajuster l'extérieur Coin Ajustement intelligent Vidéo: Ajuster les entités extérieures Créer un perçage au centre de la mise en plan. Utilisez Cercle et Points milieu aimantés pour créer un perçage aimanté au centre de la mise en plan. Vidéo: Esquisse d'un cercle s'alignant sur le centre de la mise en plan Points milieu aimantés Cercle Supprimer l'excédent de lignes. Appuyez sur la touche Ctrl et sélectionnez plusieurs lignes, puis appuyez sur Suppr. Modifier le style des lignes pour indiquer les perçages cachés. Utilisez Style de ligne pour changer les lignes continues en lignes en pointillé. Retourner aux catégories de tâches Créer une vue de droite par projection d'une vue de face et de dessus Avant (vues de face et de dessus) Après (vues de face, de dessus et de droite) Tâches Solutions Aligner la vue de droite sur les vues de face et de dessus. Utilisez des lignes infinies horizontales comme lignes de projection. Créer les arêtes verticales de la vue de mise en plan. Faites pivoter les lignes de projection (sur la vue de dessus) de -90° avec Faire pivoter les entités . Vidéo: Rotation d'entités Supprimer l'excédent d'entités d'esquisse. Utilisez Ajuster les entités avec les options ajuster l'extérieur, ajustement intelligent et coin. Ajuster l'extérieur Ajustement intelligent Coin Modifier le style des lignes pour indiquer les perçages cachés. Utilisez Style de ligne pour changer les lignes continues en lignes en pointillé. Retourner aux catégories de tâches Ajouter une encoche à la vue de dessus Avant (vue de dessus) Après (vue de dessus) Tâches Solutions Centrer l'encoche sur la vue. Utilisez Ligne de construction pour créer des lignes de construction horizontales et verticales. Créer les arêtes horizontales de l'encoche. Utilisez Décaler les entités pour décaler les lignes de construction. Supprimer l'excédent d'entités d'esquisse. Utilisez Ajuster les entités avec l'option d'ajustement intelligent. Créer un arc pour compléter l'encoche. Utilisez Arc tangent . Supprimer l'excédent d'entités d'esquisse. Utilisez Ajuster les entités avec l'option d'ajustement intelligent. Créer une encoche symétrique de l'autre côté de la vue de mise en plan. Supprimez l'arête verticale sur le côté opposé de la vue de mise en plan (pour faire une place à l'encoche), puis utilisez Entités symétriques pour réaliser la symétrique de l'encoche. Vidéo : Symétrie d'entités Retourner aux catégories de tâches Projeter l'encoche sur les vues de face et de droite Avant (vues de face, de dessus et de droite) Après (vues de face, de dessus et de droite) Tâches Solutions Aligner l'encoche sur la vue de dessus avec la vue de face. Utilisez des lignes infinies verticales comme lignes de projection. Modifier le style des lignes pour indiquer les encoches cachées. Utilisez Style de ligne pour changer les lignes continues en lignes en pointillé. Supprimer l'excédent d'entités d'esquisse. Utilisez Ajuster les entités avec l'option d'ajustement intelligent. Aligner l'encoche sur la vue de dessus avec la vue de droite. Esquissez des lignes infinies horizontales comme lignes de projection, puis faites-les pivoter de -90 ° avec Faire pivoter les entités . Vidéo : Rotation de lignes de projection Supprimer l'excédent d'entités d'esquisse. Utilisez Ajuster les entités avec l'option d'ajustement intelligent. Retourner aux catégories de tâches Créer une vue en coupe à partir de la vue de face Avant (vue de face) Après (vue en coupe) Tâches Solutions Supprimer la ligne en trop dans la vue de mise en plan pour créer une coupe transversale. Utilisez Ajuster les entités avec l'option d'ajustement intelligent. Modifiez le style des lignes pour montrer les perçages et les encoches cachés. Utilisez Style de ligne pour changer les lignes continues en lignes en pointillé. Créer un motif de hachures pour indiquer les zones pleines de la vue de mise en plan. Utilisez Zone hachurée/Remplir pour appliquer des hachures à la coupe. Vidéo : Application de zones hachurées Retourner aux catégories de tâches Sujet parentOutils de conception sectoriels Vue d'ensemble des outils de conception de machines Vue d'ensemble des outils de conception de moules Vue d'ensemble des outils de conception d'outils et de matrices Créer une mise en plan à partir d'un modèle 3D Avec un modèle 3D, vous pouvez créer la même mise en plan en deux étapes. Tâches Solutions Créer les vues de face, de dessus et de droite. Dans un nouveau feuille de mise en plan, avec la barre d'outils Mise en plan affichée, sélectionnez 3 vues standard et recherchez le document de pièce dans le 3 vues standard PropertyManager. Créer une vue en coupe. Dans le document de mise en plan, utilisez l'outil Vue en coupe pour créer une vue en coupe à partir de la vue de dessus. Un hachurage est automatiquement appliqué aux vues en coupe.
Vue d'ensemble de l'esquisse 2D Cette vue d'ensemble présente les tâches courantes en matière d'esquisse 2D, ainsi que les solutions SOLIDWORKS qui vous aident à les exécuter. Elle a pour but de vous montrer comment créer la mise en plan suivante. Voir comment créer cette mise en plan à partir d'un modèle 3D. Les outils d'habillage et d'annotation ne sont pas utilisés dans cette vue d'ensemble. Reportez-vous au tutoriel Techniques avancées de mise en plan pour une présentation étape par étape des outils d'habillage et d'annotation de SOLIDWORKS. Vous y accédez en cliquant sur > Tutoriels > Tous les tutoriels SOLIDWORKS . Catégories de tâches Créer une vue de face. Créer une vue de dessus en projetant une vue de face. Créer une vue de droite en projetant une vue de face et de dessus. Ajouter une encoche à la vue de dessus. Projeter l'encoche sur les vues de face et de droite. Créer une vue en coupe à partir de la vue de face. Créer une vue de face Tâches Solutions Créer les arêtes horizontales de la vue de mise en plan. Esquissez la ligne horizontale du bas avec Ligne , puis utilisez Décaler les entités pour créer des arêtes supplémentaires. Créer les arêtes verticales de la vue de mise en plan. Esquissez une ligne de symétrie avec Ligne de construction et utilisez Décaler les entités pour décaler la ligne de construction de manière bidirectionnelle. Supprimer l'excédent d'entités d'esquisse. Utilisez Ajuster les entités avec les options coin et ajustement intelligent. Coin Ajustement intelligent: méthode cliquer-cliquer Vidéo: Ajustement de coins avec Ajuster les entités Vidéo: Utilisation de la méthode cliquer-cliquer d'Ajustement intelligent Ajustement intelligent: méthode glisser Vidéo: Utilisation de la méthode de glissement d'Ajuster les entités Modifier le style des lignes pour indiquer les perçages cachés. Utilisez Style de ligne pour changer les lignes continues en lignes en pointillé. Retourner aux catégories de tâches Créer une vue de dessus par projection d'une vue de face Avant (vue de face) Après (vues de face et de dessus) Tâches Solutions Aligner la vue de dessus sur la vue de face. Esquissez des lignes infinies verticales comme lignes de projection avec Ligne . Vidéo: Esquisse de lignes infinies verticales comme lignes de projection Créer les arêtes horizontales de la vue de mise en plan. Esquissez une ligne de symétrie horizontale avec Ligne de construction pour définir le milieu de la vue de mise en plan. Décalez la ligne de construction avec Décaler les entités pour créer des arêtes supplémentaires de la vue de mise en plan. Supprimer l'excédent d'entités d'esquisse. Utilisez Ajuster les entités avec les options ajuster l'extérieur, coin et ajustement intelligent. Ajuster l'extérieur Coin Ajustement intelligent Vidéo: Ajuster les entités extérieures Créer un perçage au centre de la mise en plan. Utilisez Cercle et Points milieu aimantés pour créer un perçage aimanté au centre de la mise en plan. Vidéo: Esquisse d'un cercle s'alignant sur le centre de la mise en plan Points milieu aimantés Cercle Supprimer l'excédent de lignes. Appuyez sur la touche Ctrl et sélectionnez plusieurs lignes, puis appuyez sur Suppr. Modifier le style des lignes pour indiquer les perçages cachés. Utilisez Style de ligne pour changer les lignes continues en lignes en pointillé. Retourner aux catégories de tâches Créer une vue de droite par projection d'une vue de face et de dessus Avant (vues de face et de dessus) Après (vues de face, de dessus et de droite) Tâches Solutions Aligner la vue de droite sur les vues de face et de dessus. Utilisez des lignes infinies horizontales comme lignes de projection. Créer les arêtes verticales de la vue de mise en plan. Faites pivoter les lignes de projection (sur la vue de dessus) de -90° avec Faire pivoter les entités . Vidéo: Rotation d'entités Supprimer l'excédent d'entités d'esquisse. Utilisez Ajuster les entités avec les options ajuster l'extérieur, ajustement intelligent et coin. Ajuster l'extérieur Ajustement intelligent Coin Modifier le style des lignes pour indiquer les perçages cachés. Utilisez Style de ligne pour changer les lignes continues en lignes en pointillé. Retourner aux catégories de tâches Ajouter une encoche à la vue de dessus Avant (vue de dessus) Après (vue de dessus) Tâches Solutions Centrer l'encoche sur la vue. Utilisez Ligne de construction pour créer des lignes de construction horizontales et verticales. Créer les arêtes horizontales de l'encoche. Utilisez Décaler les entités pour décaler les lignes de construction. Supprimer l'excédent d'entités d'esquisse. Utilisez Ajuster les entités avec l'option d'ajustement intelligent. Créer un arc pour compléter l'encoche. Utilisez Arc tangent . Supprimer l'excédent d'entités d'esquisse. Utilisez Ajuster les entités avec l'option d'ajustement intelligent. Créer une encoche symétrique de l'autre côté de la vue de mise en plan. Supprimez l'arête verticale sur le côté opposé de la vue de mise en plan (pour faire une place à l'encoche), puis utilisez Entités symétriques pour réaliser la symétrique de l'encoche. Vidéo : Symétrie d'entités Retourner aux catégories de tâches Projeter l'encoche sur les vues de face et de droite Avant (vues de face, de dessus et de droite) Après (vues de face, de dessus et de droite) Tâches Solutions Aligner l'encoche sur la vue de dessus avec la vue de face. Utilisez des lignes infinies verticales comme lignes de projection. Modifier le style des lignes pour indiquer les encoches cachées. Utilisez Style de ligne pour changer les lignes continues en lignes en pointillé. Supprimer l'excédent d'entités d'esquisse. Utilisez Ajuster les entités avec l'option d'ajustement intelligent. Aligner l'encoche sur la vue de dessus avec la vue de droite. Esquissez des lignes infinies horizontales comme lignes de projection, puis faites-les pivoter de -90 ° avec Faire pivoter les entités . Vidéo : Rotation de lignes de projection Supprimer l'excédent d'entités d'esquisse. Utilisez Ajuster les entités avec l'option d'ajustement intelligent. Retourner aux catégories de tâches Créer une vue en coupe à partir de la vue de face Avant (vue de face) Après (vue en coupe) Tâches Solutions Supprimer la ligne en trop dans la vue de mise en plan pour créer une coupe transversale. Utilisez Ajuster les entités avec l'option d'ajustement intelligent. Modifiez le style des lignes pour montrer les perçages et les encoches cachés. Utilisez Style de ligne pour changer les lignes continues en lignes en pointillé. Créer un motif de hachures pour indiquer les zones pleines de la vue de mise en plan. Utilisez Zone hachurée/Remplir pour appliquer des hachures à la coupe. Vidéo : Application de zones hachurées Retourner aux catégories de tâches Sujet parentOutils de conception sectoriels Vue d'ensemble des outils de conception de machines Vue d'ensemble des outils de conception de moules Vue d'ensemble des outils de conception d'outils et de matrices Créer une mise en plan à partir d'un modèle 3D Avec un modèle 3D, vous pouvez créer la même mise en plan en deux étapes. Tâches Solutions Créer les vues de face, de dessus et de droite. Dans un nouveau feuille de mise en plan, avec la barre d'outils Mise en plan affichée, sélectionnez 3 vues standard et recherchez le document de pièce dans le 3 vues standard PropertyManager. Créer une vue en coupe. Dans le document de mise en plan, utilisez l'outil Vue en coupe pour créer une vue en coupe à partir de la vue de dessus. Un hachurage est automatiquement appliqué aux vues en coupe.
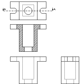
Créer une mise en plan à partir d'un modèle 3D Avec un modèle 3D, vous pouvez créer la même mise en plan en deux étapes. Tâches Solutions Créer les vues de face, de dessus et de droite. Dans un nouveau feuille de mise en plan, avec la barre d'outils Mise en plan affichée, sélectionnez 3 vues standard et recherchez le document de pièce dans le 3 vues standard PropertyManager. Créer une vue en coupe. Dans le document de mise en plan, utilisez l'outil Vue en coupe pour créer une vue en coupe à partir de la vue de dessus. Un hachurage est automatiquement appliqué aux vues en coupe.